EasyManua.ls Logo

VAMP 259 - Page 240

VAMP 259
304 pages
Print Icon
To Next Page IconTo Next Page
To Next Page IconTo Next Page
To Previous Page IconTo Previous Page
To Previous Page IconTo Previous Page
Loading...
7.4 Trip circuit supervision
7 Applications
Technical description
240
VAMP 24h support phone +358 (0)20 753 3264
VM259.EN007
By utilizing an auxiliary contact of the CB for the external
resistor, also the auxiliary contact in the trip circuit can be
supervised.
When using the dry digital inputs DI7..., using the other
inputs of the same group, sharing a common terminal, is
limited.
When using the wet digital inputs DI1 ... DI6, an auxiliary
relay is needed.
Using any of the dry digital inputs DI7 ...
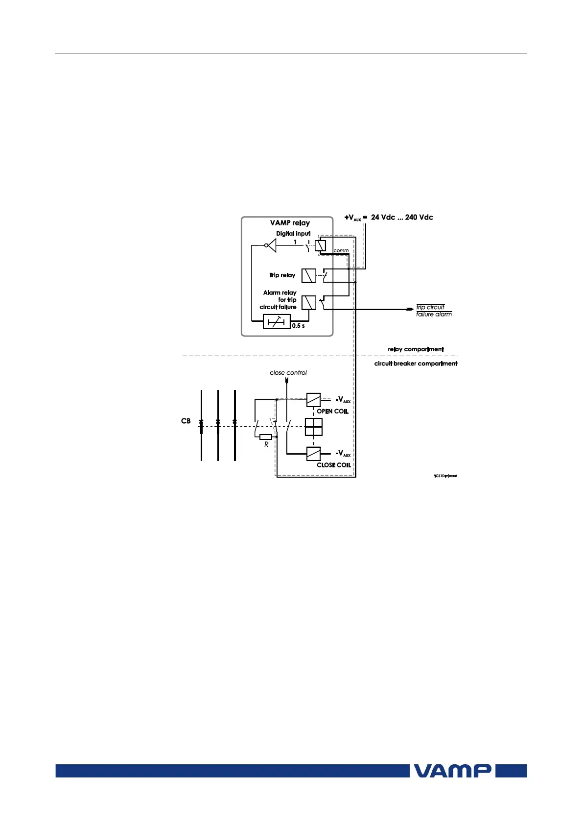
Figure 7.4.2-1 Trip circuit supervision using a single dry digital input and
an external resistor R. The circuit-breaker is in the closed position. The
supervised circuitry in this CB position is double-lined. The digital input is
in active state when the trip circuit is complete. This is applicable for dry
inputs DI7...DI20.

Table of Contents