EasyManua.ls Logo

Woods 208-2 - M208-2 Category 1, 3-Point Hitch Assembly (Mounted Units Only); M208-2 Category 2, 3-Point Hitch Assembly (Mounted Units Only)

Woods 208-2
74 pages
Print Icon
To Next Page IconTo Next Page
To Next Page IconTo Next Page
To Previous Page IconTo Previous Page
To Previous Page IconTo Previous Page
Loading...
Parts 65
32394 (Rev. 9/3/2004)
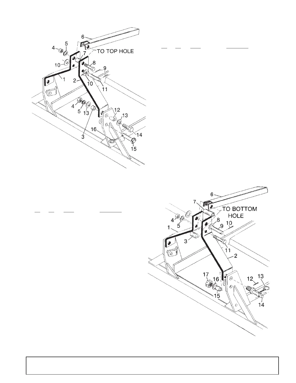
M208-2 CATEGORY 1, 3-POINT HITCH ASSEMBLY (MOUNTED UNITS ONLY)
M208-2 CATEGORY 2, 3-POINT HITCH ASSEMBLY (MOUNTED UNITS ONLY)
Ref Part No
No
No Used Description
1 28268 1 Right A--frame half
2 28269 1 Left A--frame half
3 28306 2 1--1/8 x 1--7/16 x 11/16 Sleeve HT
4 1450 * 3 3/4 NC Hex nut
5 2522 * 3 3/4 Standard lockwasher
6 28285 1 Top link weldment
7 27140 1 3/4 x 1--1/4 x 3 Sleeve
8 29315 * 1 3/4 NC x 5--1/2 Hex head cap screw
GR5
9 1285 * 2 1/4 x 1--1/2 Cotter pin
10 2864 * 2 3/4 SAE Flat washer
11 8327 1 3/4 x 5--27/32 Clevis pin
12 28289 2 3/4 x 1--1/8 x 1--3/8 HT Sleeve
13 5609 4 3/4 x 1--3/4 x 7 GA Flat washer
14 14334 2 3/4 NC x 3 Hex head cap screw HT
15 28307 2 Category 1 hitch pin
16 27542 2 7/16 x 11/32 Klik pin HT
*Obtain Locally
DB2118
Ref Part No
No
No Used Description
1 28268 1 Right A--frame half
2 28269 1 Left A--frame half
3 27140 1 3/4 x 1--1/4 x 3 Sleeve
4 1450 * 1 3/4 NC Hex nut
5 2522 * 1 3/4 Standard lockwasher
6 28285 1 Top link weldment
7 14824 1 3/4 x 1 x 3 HT Sleeve
8 2864 * 2 3/4 SAE Flat washer
9 8327 1 3/4 x 5--27/32 Clevis pin
10 1285 * 2 1/4 x 1--1/2 Cotter pin
11 29315 * 1 3/4 NC x 5--1/2 Hex head cap
screw GR5
12 1266 * 2 3/16 x 1--1/2 Cotter pin
13 27542 2 7/16 x 11/32 Klik pin HT
14 14012 2 Category 2 hitch pin, 1--1/8 drilled
15 28306 2 1--1/8 x 1--7/16 x 11/16 Sleeve HT
16 12272 2 1--1/8 x 2--3/8 x 3/16 Flat washer
17 14153 2 1--1/8 NF Slotted hex nut
*Obtain Locally
DB2119

Table of Contents

Related product manuals