EasyManua.ls Logo

Yamaha YZ250F(E) - Lubrication System Chart and Diagrams; Lubrication Diagrams

Yamaha YZ250F(E)
356 pages
Print Icon
To Next Page IconTo Next Page
To Next Page IconTo Next Page
To Previous Page IconTo Previous Page
To Previous Page IconTo Previous Page
Loading...
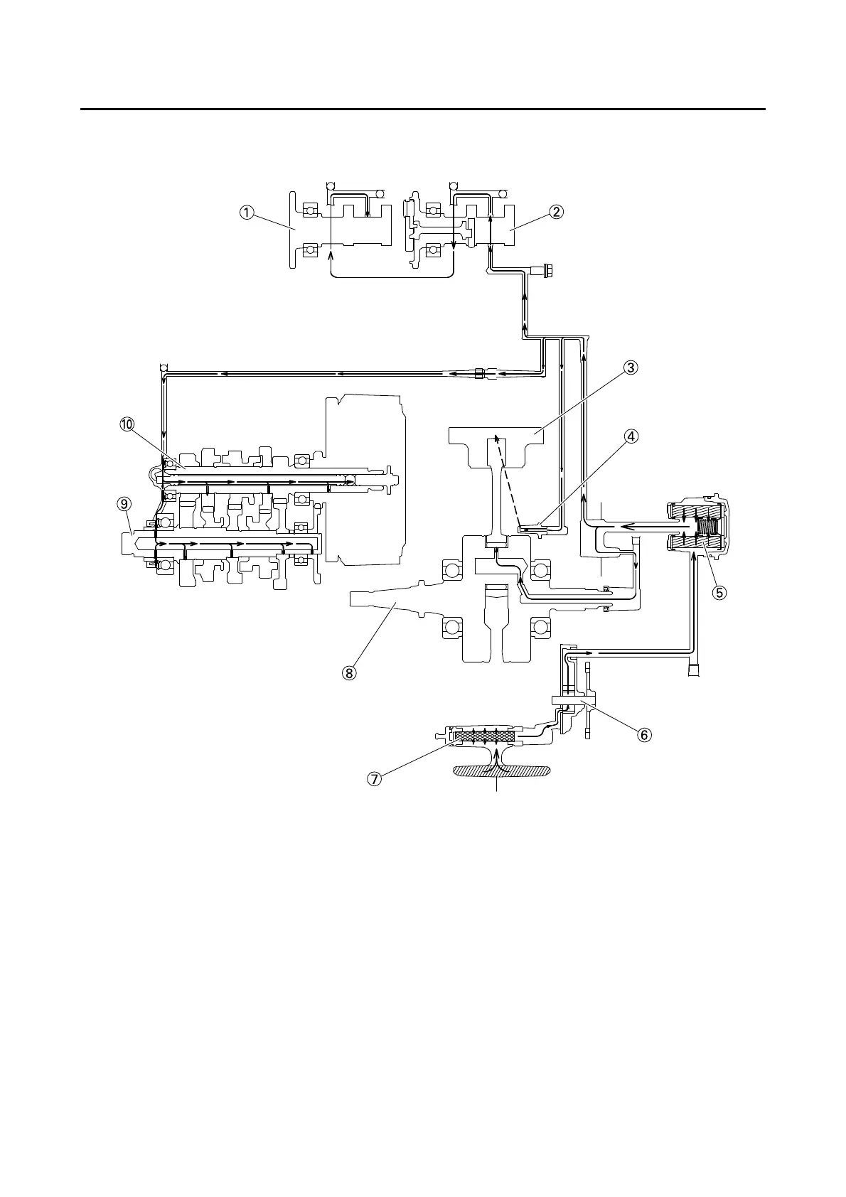
LUBRICATION SYSTEM CHART AND DIAGRAMS
2-23
EAS1SM1062
LUBRICATION SYSTEM CHART AND DIAGRAMS
EAS1SM1063
LUBRICATION DIAGRAMS

Table of Contents

Related product manuals