EasyManua.ls Logo

YASKAWA Varispeed V7 - Page 186

YASKAWA Varispeed V7
256 pages
Print Icon
To Next Page IconTo Next Page
To Next Page IconTo Next Page
To Previous Page IconTo Previous Page
To Previous Page IconTo Previous Page
Loading...
7. Programming Features
185
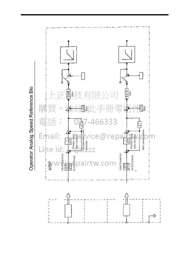
Operator Analog Speed Reference Block Diagram
Digital Operator
0 to 10 V
4 to 20 mA
RS232C MEMOBUS communications
RS232C MEMOBUS communications
(9600 bps)
(9600 bps)
A/D
conversion
A/D
conversion
VIN
Pin 1
of CN2
IIN
Pin 2
of CN2
GND
Pin 3
of CN2
(JVOP-140)
A/D converter GND
0V
Inverter
Max. output frequency
ADCH1
ADCH2
Converts A/D (value)
into Hz
n011
3FFH
Max. output frequency
Converts A/D (value)
into Hz
n011
3FFH
1
n070
Primary delay
time constant
Compensation with
reminder
With compensation
n069 n011
n011
n068
Gain
n071
Gain
Bias
Max. output frequency
0%
110%
Fref
0%
110%
Fref
Max. output frequency
n072
Bias
Z
-1
1
n073
Primary delay
time constant
Z
-1
n0680
n068<0
n0710
n071<0
Operator Analog Speed Reference Block Diagram

Table of Contents

Related product manuals