EasyManua.ls Logo

Amada IS-200A - Connection of Input Signals

Default Icon
80 pages
Print Icon
To Next Page IconTo Next Page
To Next Page IconTo Next Page
To Previous Page IconTo Previous Page
To Previous Page IconTo Previous Page
Loading...
IS-200A
6. Interface
6-6
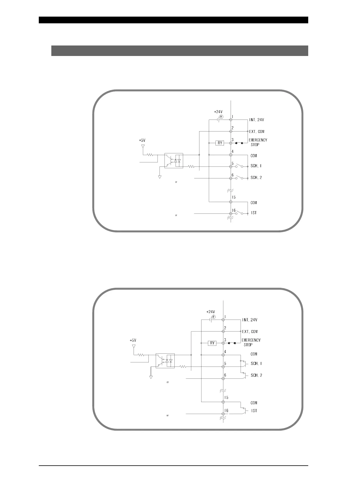
(3) Connection of Input Signals
1) Connection with equipment having a contact input
Connect pins 1 and 2.
(Internal)
(External)
Internal power supply
2) Connection with equipment featuring NPN open collector output (when using
internal power supply)
Connect pins 1 and 2.
(Internal)
(External)
Internal power supply

Related product manuals