EasyManua.ls Logo

Binder CB Series - Gas Connection Procedures

Binder CB Series
199 pages
Print Icon
To Next Page IconTo Next Page
To Next Page IconTo Next Page
To Previous Page IconTo Previous Page
To Previous Page IconTo Previous Page
Loading...
CB / CB-UL, CBF / CBF-UL (E7) 01/2022 Page 27/199
(N) Pump (CBF / CBF-UL)
(O) Water connection for silicone tube (CBF / CBF-UL)
(P) Opening for freshwater bag (CBF / CBF-UL)
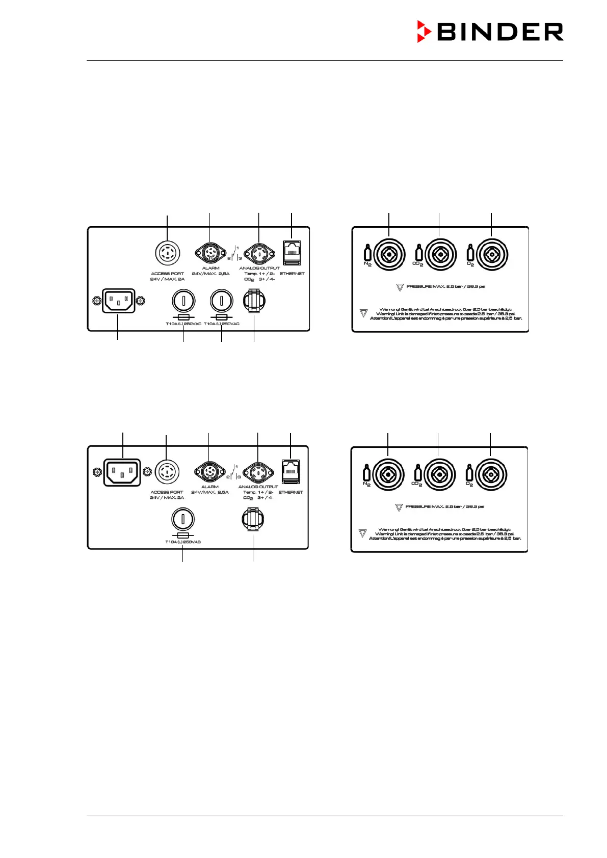
2.3 Control panel on the rear of the chamber
(2) (3) (4) (5) (9) (10) (11)
(1b) (6b) (7) (8)
Figure 6: Rear control panel CB with O
2
control and options
(1b) (2) (3) (4) (5) (9) (10) (11)
(6a) (8)
Figure 7: Rear control panel CB-UL with O
2
control and options
(1a) Socket for IEC connector plug / power cable 100-120 V AC
(1b) Socket for IEC connector plug / power cable 230 V AC
(2) External socket for extra-low voltage supply (option for chamber size 170 / 220, chap. 18.7)
(3) DIN-socket for zero-voltage relay alarm outputs
(4) DIN socket for analog outputs 4-20 mA (option, chap. 18.5)
(5) Ethernet interface for computer communication
(6a) Miniature fuse T12,5 A (L) 250 V AV for 100-120 V chamber
(6b) Miniature fuse T10 A (L) 250 V AC for 200-230 V chamber
(7) Miniature fuse T10 A (L) 250 V AC for 200-230 V chamber

Table of Contents

Related product manuals