EasyManua.ls Logo

Brother mfc8440 - 1.3.10 Engine I;O; 1.3.11 Panel I;O; Eeprom; Reset Circuit

Brother mfc8440
367 pages
Print Icon
To Next Page IconTo Next Page
To Next Page IconTo Next Page
To Previous Page IconTo Previous Page
To Previous Page IconTo Previous Page
Loading...
MFC-8440/8840D/8840DN, DCP-8040/8045D/8045DN
SERVICE MANUAL
3-7
1.3.8 EEPROM
The EEPROM is BR24126 type of two-wire method with a 8192 x 8bit configuration.
Aurora
U15
Fig. 3-10
1.3.9 Reset circuit
The reset IC is a R3112N281C. The reset voltage is 2.8V (typ.) and the LOW period of reset is
22.4ms (typ.)
R84
68
C77
C101
0V
TP4
U5
R3112N281C
5
CD
2
VCC
1
VOUT
4
NC
3
GND
C75
C103
0V
VDD3
C71
C103
TP310
Fig. 3-11
1.3.10 Engine I/O
The interface with the engine PCB is by full-duplex synchronous serial method, of which
transfer rate is 520kbps.
3D
ENGDI
1D
ENGDI
ENGDI
U7
Aurora
254
ENGRSTN
253
ENGDO
255
R139
4.7k
VDD5
VDD3
R140
4.7k
L11
0
VDD3
0V
C143
C102
R141
100
C152
C103
C154
C103
C153
C101
C142
C101
L10
0
L15
0
L14
0
L12
0
L13
0
R142
1k
R138
100
TP202
TP203
TP200
TP201
TP204
TP205
CN9
1
3.3V
B6B-PH-K-S
2
0V
3
TXD
4
RXD
5
RESET
6
5V
ENGINE
Fig. 3-12
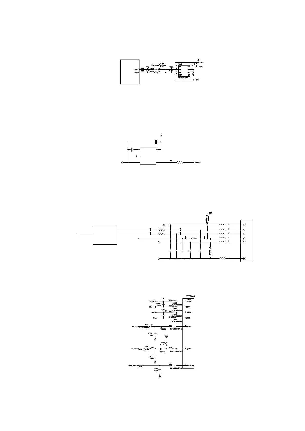
1.3.11 Panel I/O
The interface with the panel PCB is by full-duplex synchronous serial method.
Fig. 3-13

Table of Contents

Related product manuals