EasyManua.ls Logo

Chloride ACTIVE 700 - Rear Side ACTIVE 3000-19 and Battery Extension

Default Icon
60 pages
Print Icon
To Next Page IconTo Next Page
To Next Page IconTo Next Page
To Previous Page IconTo Previous Page
To Previous Page IconTo Previous Page
Loading...
Indicator and operating elements CHLORIDE ACTIVE
GB - 18 V02OCT/01 945040.066
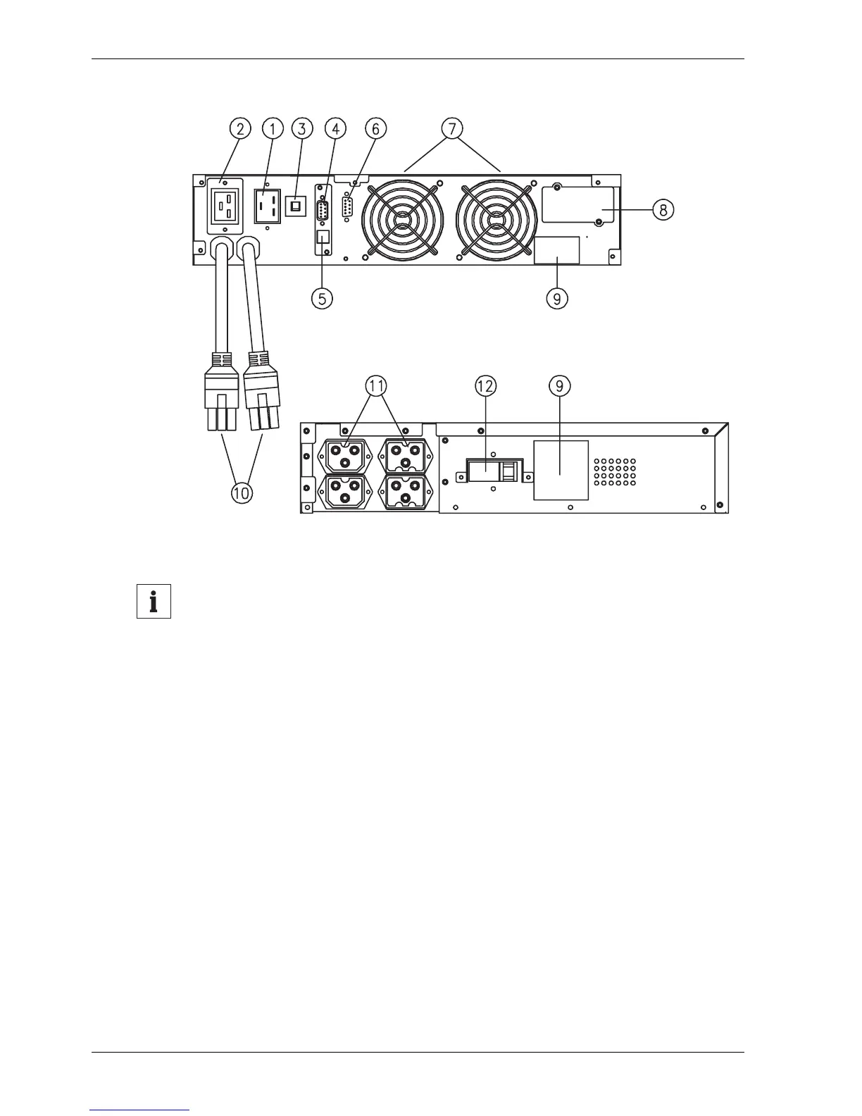
Fig. 10: Rear side ACTIVE 3000-19 and battery extension
Notice
Included in the delivery contents for each BPACTIVE3000-19 battery
extension are two battery extension cables. The first extension is
connected to battery cable (10) of the UPS, each additional exten-
sion is connected via the two aforementioned cables. Protection
against polarity reversal at the battery extensions is ensured through
the coding of the plug (10) on the UPS device and the connection
socket (11).
ACTIVE 3000-19
BPACTIVE3000-19

Table of Contents

Related product manuals