EasyManua.ls Logo

Comdial G0408 - 2.19 Supporting Caller Identification Service

Default Icon
438 pages
Print Icon
To Next Page IconTo Next Page
To Next Page IconTo Next Page
To Previous Page IconTo Previous Page
To Previous Page IconTo Previous Page
Loading...
2.19 Supporting Caller Identification Service
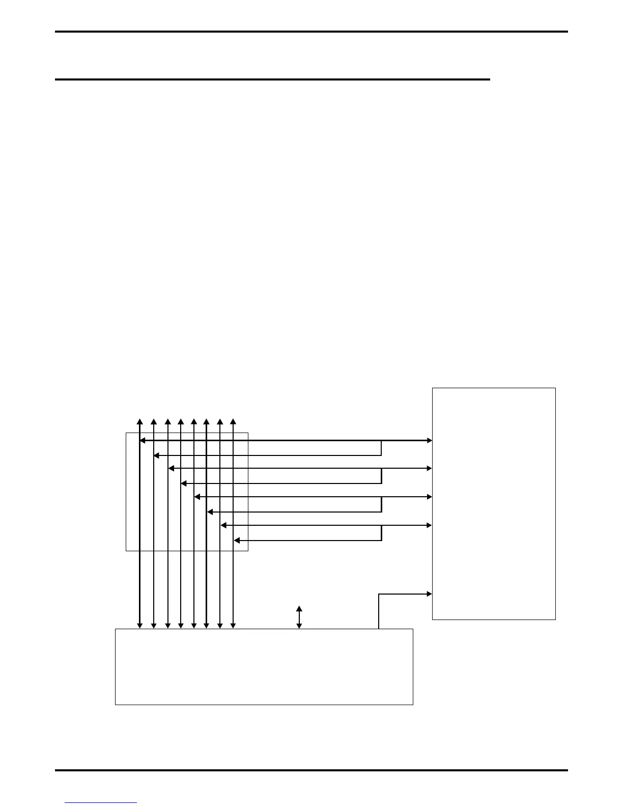
You can provide Caller ID information through the RS232 data port B using the Caller ID
Interface (product code CID08) and a special equipment-supplied cable. Caller ID information
for incoming calls shows on the displays of the system’s LCD speakerphones.
Make the connections that are detailed in the following statements.
Connect the CO lines providing Caller ID data to both the common equipment and the
CID08 line jacks in the same numerical order.
Connect the CID08-supplied cable between the CID08 and the common equipment. If you
connect it to a G1632, connect its modular plug to RS232 Data Port B on the cabinet. If you
connect it to a G0816 or a G0408, you must remove the cable’s modular plug to provide
individual RD and SG leads that you can punch down at terminals 42 and 44 of the J1
station connector block.
With the Caller ID Interface installed, you can also add two leads to provide the TD and SG
signals to a data printer or personal computer (PC). These leads are useful for adding caller
ID enhancement to the SMDA/SMDR printout or for providing messages in the ASCII
format suitable for use with PC-based applications programs.
Common
Equipment
Cabinet
7, 8
5, 6
3, 4
1, 2
Modular
Line
Ports
Lines to Common
Equipment
Modular Jacks
RS232 B Serial
Data Port
To Central Office Line Connections
8 7 6 5 4 3 2 1 PWR
To AC Outlet
Customer-
Supplied
Cable
Ports
CID08 Caller ID Interface
IN
RS-232
OUT
RS-232
Cross
Connection
Block
Lines to CID08
Caller ID
Interface
DXP012
2–34: Connecting The Caller ID Interface
Digital Telephone System IMI66–107
2 – 72 Installing The DSU

Table of Contents