EasyManua.ls Logo

Daewoo D45S-2 - Page 42

Daewoo D45S-2
592 pages
Print Icon
To Next Page IconTo Next Page
To Next Page IconTo Next Page
To Previous Page IconTo Previous Page
To Previous Page IconTo Previous Page
Loading...
2.2.3. Major Structured Parts I
- 27 -
EJM2010S
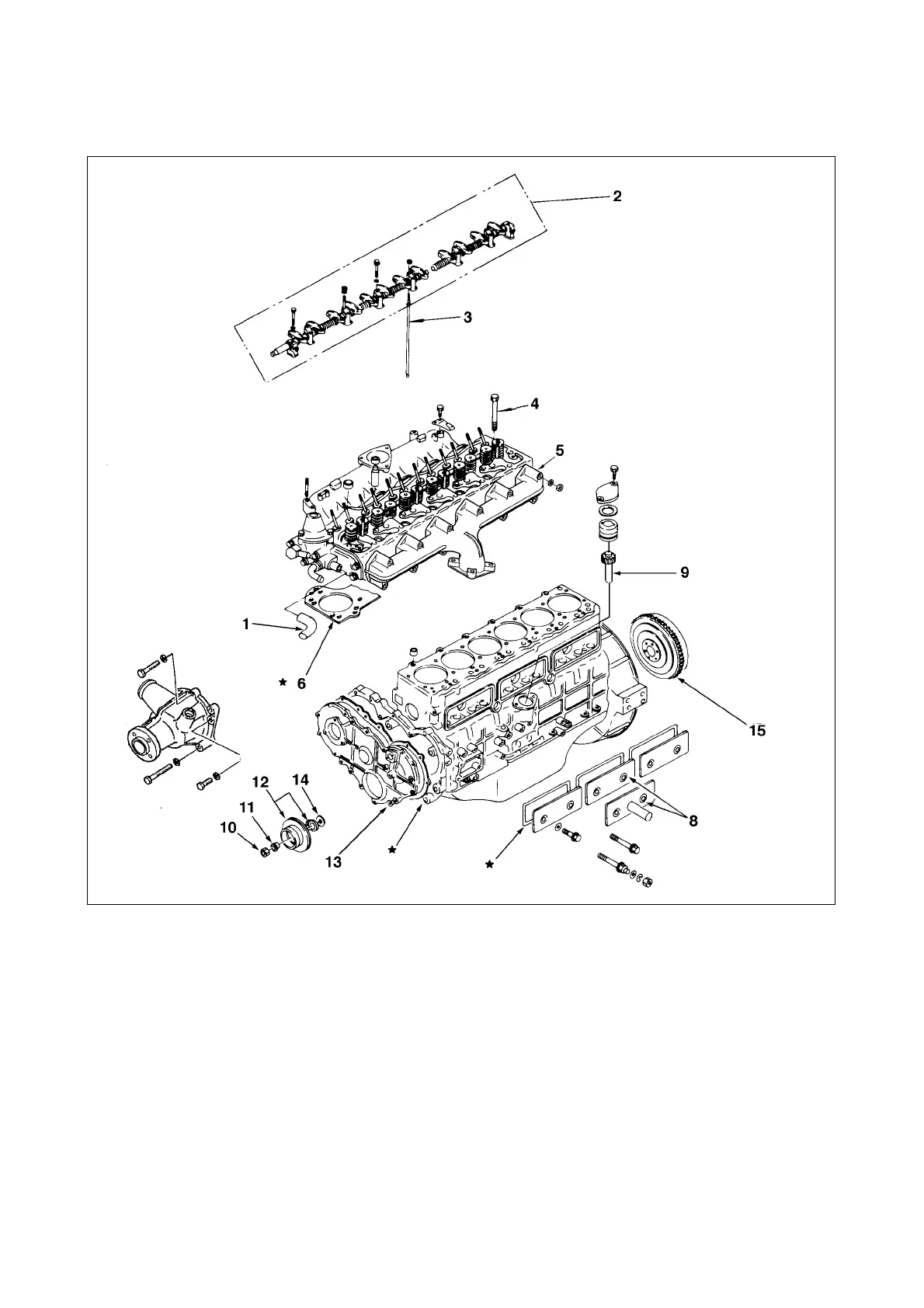
<Diassembly Steps>
1. Rubber hose ; coolant by-pass 9. Oil pump driving pinion
2. Rocker arm shaft assembly 10. Starting handle nut
3. Push rod 11. Taper bushing
4. Cylinder head bolt 12. Crankshaft pulley and dust thrower
5. Cylinder head assembly 13. Timing gear cover
6. Cylinder head gasket 14. Oil thrower
7. Coolant pump assembly 15. Fly wheel
8. Tappet chamber cover
8
: Repair Kit

Table of Contents