EasyManua.ls Logo

Daikin AVV - Typical Controls by Others Wiring Diagram - Units with Optional EC Motor with Variable Airflow

Daikin AVV
76 pages
Print Icon
To Next Page IconTo Next Page
To Next Page IconTo Next Page
To Previous Page IconTo Previous Page
To Previous Page IconTo Previous Page
Loading...
www.DaikinApplied.com 59 IM 817-7
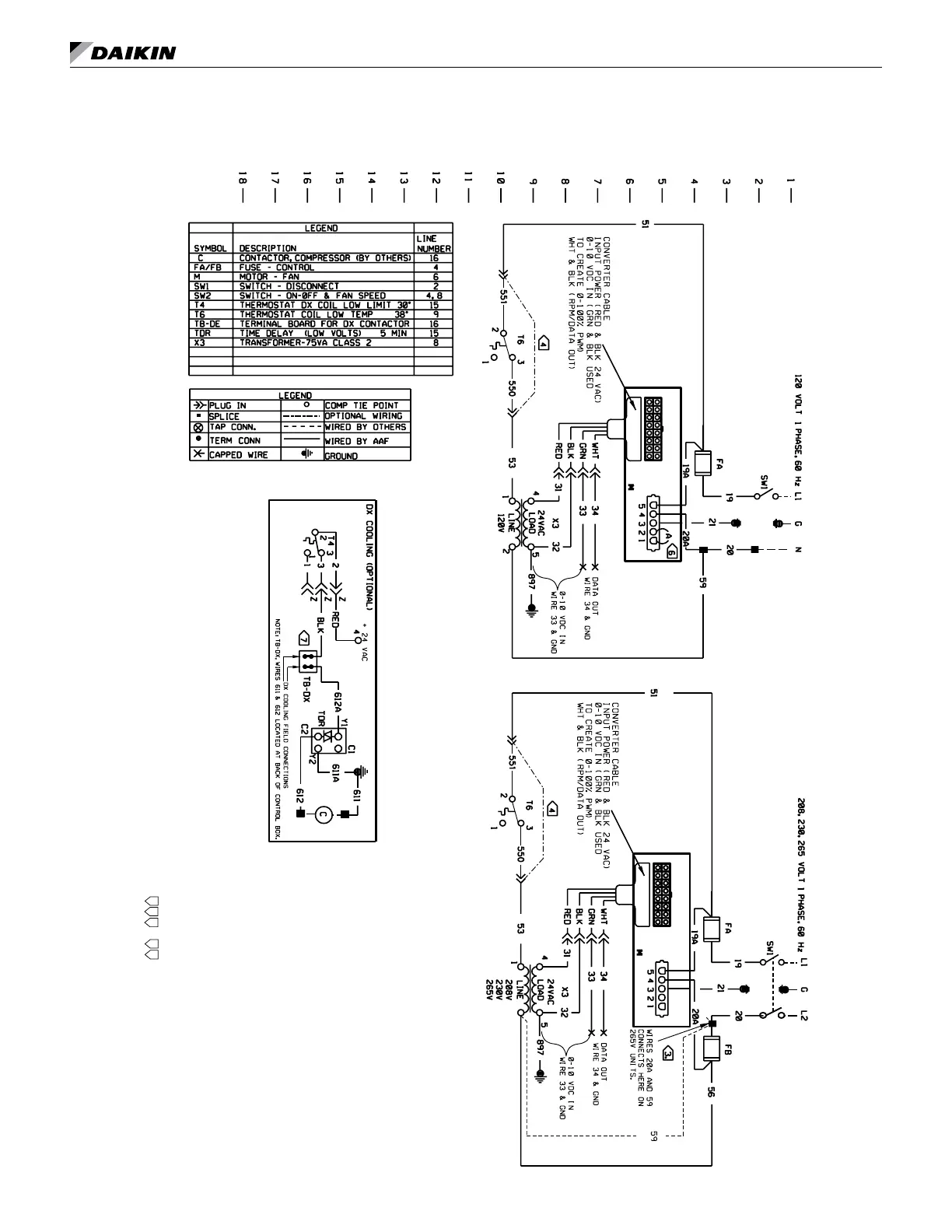
Typical Controls by Others Wiring Diagram – Units with Optional EC
Motor with Variable Airow
Figure 119: Variable Airflow 120V and 208/230, 265V 1 Phase, 60 Hz – Motor Switchbox, Non-Electric Heat Units
Notes:
1. Make electrical installation in accordance with job wiring schematic
complying with national and local electric codes.
2. Cap all unused transformer leads.
3. Fuse FB, & wire 56 furnished on 208/230 volt units only.
4. T6, wires 550 & 551 furnished only on units with hot water or chilled
water, all others connect transformer wire to wire 501
6. Jumper wire “A” must be connected to pins 1 & 2 for 120V only.
7. Automatic temperature control can be wired to TB-DX for DX cooling operation.
Typical operation is to wire from the TB-DX to a normally open relay
with the relay closing on control call for cooling.
For additional information, contact Daikin Applied Applications.
8. Motors are factory programmed for specified air flow.
Contact Daikin Applied for replacement.

Table of Contents

Related product manuals