EasyManua.ls Logo

Daikin LXE10E136 - Sensor Indication Mode

Daikin LXE10E136
172 pages
Print Icon
To Next Page IconTo Next Page
To Next Page IconTo Next Page
To Previous Page IconTo Previous Page
To Previous Page IconTo Previous Page
Loading...
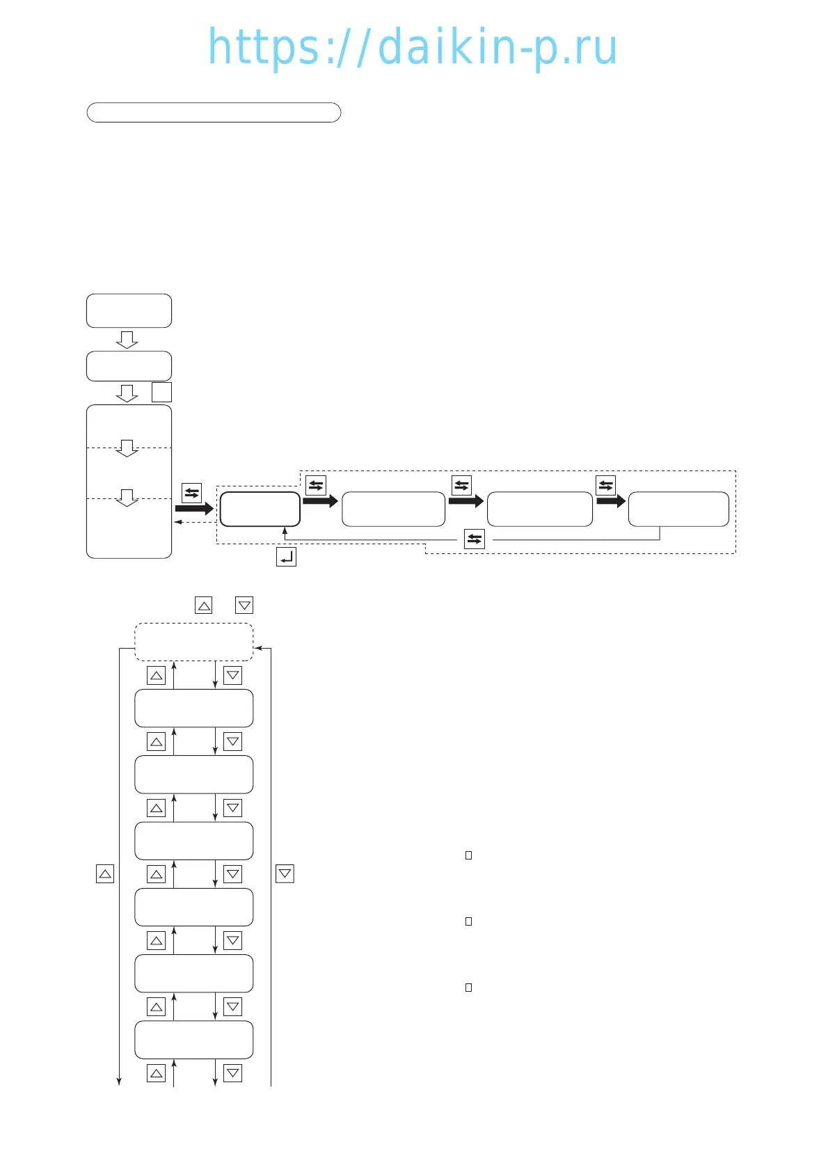
6. SENSOR INDICATION MODE
Each sensor value and the opening of the suction modulating valve (SMV) and the electronic expansion
valve (EV) can be checked. The following items are shown.
High pressure (HPT), low pressure (LPT), voltage (PT1), total current (CT1), compressor current (CT2),
ambient temperature (AMBS), evaporator inlet temperature (EIS), evaporator outlet temperature (EOS),
discharge gas temperature (DCHS), suction gas temperature (SGS), suction modulating valve opening,
electronic expansion valve opening, supply air temperature (SS) (during PTI only), return air
temperature (RS) (during PTI only), pulp temperature (USDA#1, UADA#2, USDA#3) (optional), cargo
temperature (CTS) (optional), supply air temperature for data recorder (DSS), return air temperature for
data recorder (DRS).
<Mode selection procedure>
3-13
<Operation procedure>
Whenever the or key is pressed, the display changes.
LED: The ventilation volume is displayed.
LCD: The value of the ventilation volume is displayed.
Displayed as "FA "
LED: The control temperature is displayed.
LCD: The value of high pressure transducer is displayed.
The display reads: "HPT ".
(In kPa.)
LED: The control temperature is displayed.
LCD: The value of the low pressure transducer is displayed.
The display reads: "LPT ".
(In kPa.)
LED: The control temperature is displayed.
LCD: The value of voltage is displayed.
The display reads: " PT V".
(In Volts.)
LED: The control temperature is displayed.
LCD: The value of total running current is displayed.
The display reads: " CT A".
(In Ampere.)
LED: The control temperature is displayed.
LCD: The compressor running current is displayed.
The display reads: " CT A".
(In Ampere.)
LED: The control temperature is displayed.
LCD: The ambient temperature is displayed.
The display reads: "Ab C".
(In ˚C or ˚F.)
2
1
1
I/O ON
Power off
Unit off
All Lighting
(for 3 sec.)
Preparation
(for 18 sec.)
Current
indication
1
Circuit Breaker ON
6 Sensor
Indication
7 Temperature
Record Scroll
8 Alarm
Record Scroll
To current indication with or if not controlled for 5 minutes
9 PTI record
scrolling
HIGH PRESSURE
TRANSDUCER
(HPT)
VENTILATION VOLUME
(FA)
(optional)
LOW PRESSURE
TRANSDUCER
(LPT)
CURRENT
SENSOR-1
(CT1)
VOLTAGE SENSOR
(PT)
CURRENT
SENSOR-2
(CT2)
AMBIENT
TEMPERATURE
SENSOR
(AMBS)
03LXE10E100(13-26)E.qx08.8.285:51PMページ3-13
https://daikin-p.ru

Table of Contents

Related product manuals