EasyManua.ls Logo

Daikin LXE10E136 - Alarm Record Scroll Mode

Daikin LXE10E136
172 pages
Print Icon
To Next Page IconTo Next Page
To Next Page IconTo Next Page
To Previous Page IconTo Previous Page
To Previous Page IconTo Previous Page
Loading...
3-18
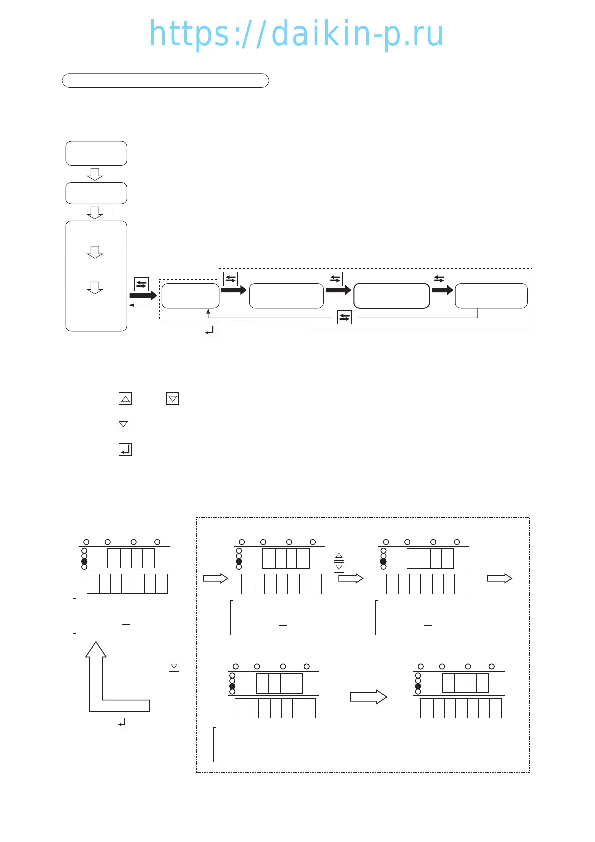
8. ALARM RECORD SCROLL MODE
The records of alarms are displayed successively (one record per second) starting from the latest one.
(Alarms for a maximum of 7 days)
<Mode selection procedure>
I/O ON
Power off
Unit off
All Lighting
(for 3 sec.)
Preparation
(for 18 sec.)
Current
indication
1
Circuit Breaker ON
6 Sensor
Indication
7 Temperature
Record Scroll
8 Alarm
Record Scroll
9 PTI record
scrolling
To current indication with or if not controlled for 5 minutes
<Operation procedure>
The alarm codes are displayed in the LED, and the alarm occurrence time and date are displayed in the
LCD.
Press the key or key to pause the successive display of records. After the pause, the successive
(scrolling) display will be resumed if no key operation is done for 10 seconds.
Keep the key pressed for 3 seconds to view the data again from the beginning.
Press the key to return to the current display mode screen.
If there is no key operation for 5 minutes, the current display mode screen reappears.
Example of alarm record scroll mode display
The example below is base on the presumption that the current time is around 14:00, June 27, 2008.
SUPPLY
RETURN
ALARM
R.H.
-----
-----
-----
SUPPLY
RETURN
ALARM
R.H.
-----
-----
-----
25 5.1
E101
27
SUPPLY
RETURN
ALARM
R.H.
-----
-----
-----
SUPPLY
RETURN
ALARM
R.H.
-----
-----
-----
−−
SUPPLY
RETURN
ALARM
R.H.
-----
-----
-----
20 8.1
E411
08
COMP. DEFROST IN RANGE DE-HUMID.COMP. DEFROST IN RANGE DE-HUMID.COMP. DEFROST IN RANGE DE-HUMID.
COMP. DEFROST IN RANGE DE-HUMID.
20 3.100
COMP. DEFROST IN RANGE DE-HUMID.
23 3.1
E1
0
9
1526 3.
207
271
E207
Latest alarm
Date of occurrence:
June 26, 2008
Time of occurrence
26
13.27
E101
Alarm (one time before)
Date of occurrence:
June 25, 2008
Time of occurrence
25
15.27
E411
Alarm (three times before)
Date of occurrence:
June 20, 2008
Time of occurrence
20
18.08
E109
Alarm (two times before)
Date of occurrence:
June 23, 2008
Time of occurrence
23
13.15
E
Restarted if the
key is held pressed
for 3 seconds.
In 1
second
Press the
key or
key.
No key
operation for
10 seconds
No key operation
Successive display
One record per second
t
r
e
w
q
Press the key to return to
the current display mode.
If there is no key operation for 5
minutes, the current display
mode is re-entered.
After the oldest data is displayed
(Last display)
03LXE10E100(13-26)E.qx08.8.285:51PMページ3-18
https://daikin-p.ru

Table of Contents

Related product manuals