EasyManua.ls Logo

Daikin LXE10E136 - Page 59

Daikin LXE10E136
172 pages
Print Icon
To Next Page IconTo Next Page
To Next Page IconTo Next Page
To Previous Page IconTo Previous Page
To Previous Page IconTo Previous Page
Loading...
3-17
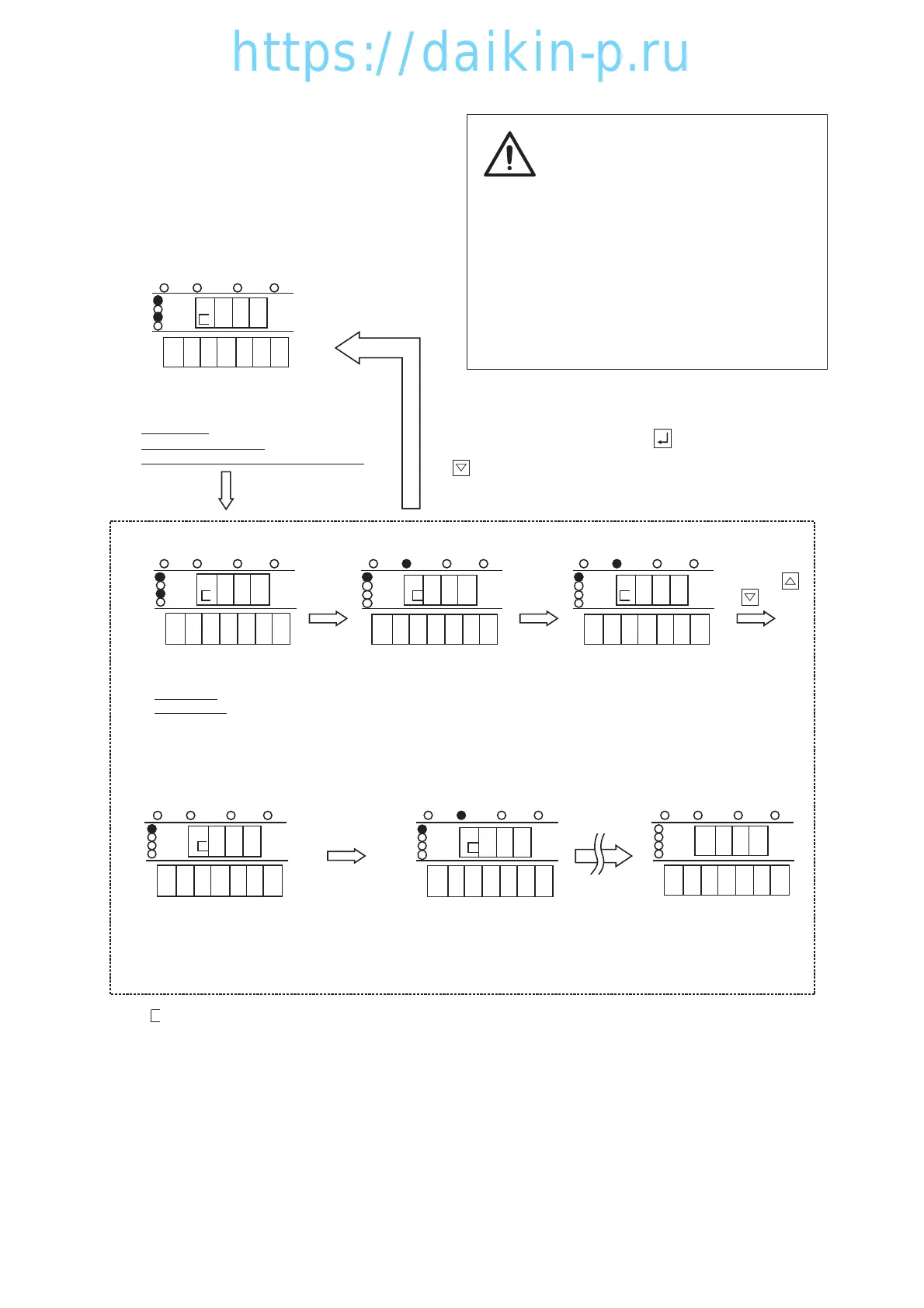
Example of TEMPERATURE RECORD
SCROLL INDICATION MODE
It is assumed that the control temperature is
the supply air temperature (SS) and the
logging interval is 1 hour, and the current
date and time are June 27, 2008, 14:00.
COMP. DEFROST IN RANGE DE-HUMID.
-----
-----
-----
27 3.1
SUPPLY
RETURN
ALARM
R.H.
0. 1
00
-----
-----
-----
0. C2
SUPPLY
RETURN
ALARM
R.H.
0. 1
RS
-----
-----
-----
6. C3
SUPPLY
RETURN
ALARM
R.H.
RS
-----
-----
-----
SUPPLY
RETURN
ALARM
R.H.
5. 05. 0
2.27 1 00
-----
-----
-----
SUPPLY
RETURN
ALARM
R.H.
20 3.1
−−
00
-----
-----
-----
SUPPLY
RETURN
ALARM
R.H.
5. 0
27 1.100
-----
-----
-----
SUPPLY
RETURN
ALARM
R.H.
COMP. DEFROST IN RANGE DE-HUMID. COMP. DEFROST IN RANGE DE-HUMID. COMP. DEFROST IN RANGE DE-HUMID.
COMP. DEFROST IN RANGE DE-HUMID.
COMP. DEFROST IN RANGE DE-HUMID. COMP. DEFROST IN RANGE DE-HUMID.
5. 0
6. C3RS
the key for 3 seconds.
To restart, press and hold
One second later
One
second
later
One
second
later
Press the
or Key
Non key operation
for 10 seconds.
Example:
Operation data at 1:00 pm, June 27, 2008
SS= –0.1 ˚C
SUPPLY LED lights on.
ALARM LED lights on (when alarms exist).
An example.
p.m. 1:00 June 27, 2008
RS= 0. 2 ˚C
SS= – 0.1 ˚C
SUPPLY LED lights on.
ALARM LED lights on
(when alarms exist).
Stop on the data of
p.m. 12:00 June 27, 2008
Example: The successive display is resumed
at every 1-hour logging intervals from
the data stopped at 12:00 p.m., June
27, 2008.
After completion of indication of
the oldest data (Final indication)
No key operation
Successive display
One record per second
p.m. 12:00 June
27, 2008
SS= 5.0 ˚C
DEFROST LED lights on.
(during defrosting)
p.m. 12:00 June
27, 2008
SS= 5.0 ˚C
RS= 6.3 ˚C
DEFROST LED lights on.
(during defrosting)
To go back the current indication mode,
press the key.
If key operation is not performed within
5 minutes, the current indication mode
screen is resumed.
uyt
rew
q
The displayed temperature is not the
current instantaneous value but an average
taken in a specific logging interval.
Therefore, the printed control temperature
on the trip report (instantaneous value)
printed with the aid of personal computer
may differ from the sensor data of the
chartless function.
This is not an error.
CAUTION
Note: " " on the leftmost of the LED shows that the indication is of the temperature record scroll indication
mode.
03LXE10E100(13-26)E.qx08.8.285:51PMページ3-17
https://daikin-p.ru

Table of Contents

Related product manuals