EasyManua.ls Logo

Datum Systems M7 Series - Figure 3-43 - Alarm Processing

Datum Systems M7 Series
190 pages
Print Icon
To Next Page IconTo Next Page
To Next Page IconTo Next Page
To Previous Page IconTo Previous Page
To Previous Page IconTo Previous Page
Loading...
M7/M7L/M7LT Modular Satellite Modem Maintenance
M7/M7L/M7LT - Rev. 0.05 3-83
Dual G.703/E1 with Drop and Insert interface (G7)
High Speed Serial Interface (HSSI) (H7)
NOTE: Adding an optional interface card or changing an already installed interface should only be
attempted by experienced personnel familiar with electronic communications equipment.
Refer to Section 2.3.8.2 for details on how to add or change an interface option.
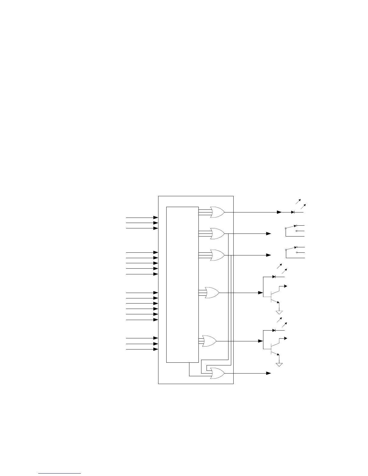
3.7.13. Alarm configuration
The modem alarm system represents a sophisticated method of controlling visual, relay and logical
alarm outputs which can be used for multiple purposes including redundancy. The modem alarm
outputs are:
two alarm relays (A & B)
three front panel LEDs (Modulator, Demodulator, and Summary)
two open collector alarms on the interface card (Modulator & Demodulator)
one redundancy switch request
A basic representation of the alarm system functioning is shown in the Figure 3-43.
Individual Alarms Processing Matrix Outputs
Unit Alarms
Modulator Alarms
Demodulator Alarms
Interface Alarms
Reference
Test Active
Hardware
Carrier
Bit Clock
Test Active
Hardware
No Data
BER Loss
Test Active
Option Fail
Carrier Lock
Low Level
Low Eb/No
Test Active
Hardware
No Data
Summary Alarm
Alarm Relay A
Alarm Relay B
NC
NO
C
NC
NO
C
Front Panel
Front Panel
Data
Interface
Data
Interface
Redundancy
Switch Request
Selection
Logic
Modulator
Alarm
Demodulator
Alarm
Figure 3-43 - Alarm Processing
There are many possible alarm inputs depending on the modem options and configuration. Each of
the individual alarm inputs has a configuration selection parameter under the “Alarm” column of its
operation matrix. Alarm inputs can be set to be ignored, be an “OR” inputs to the A or B alarm relay,
or be an “OR” inputs to both the A and B alarm relay. The default setting for the alarm matrix is for all

Table of Contents