EasyManua.ls Logo

DaVinci fireplace - Air Intake Duct Quantity and Location

Default Icon
84 pages
Print Icon
To Next Page IconTo Next Page
To Next Page IconTo Next Page
To Previous Page IconTo Previous Page
To Previous Page IconTo Previous Page
Loading...
54 Installation (for qualified installers only)
© Travis Industries 4150126 100-01418
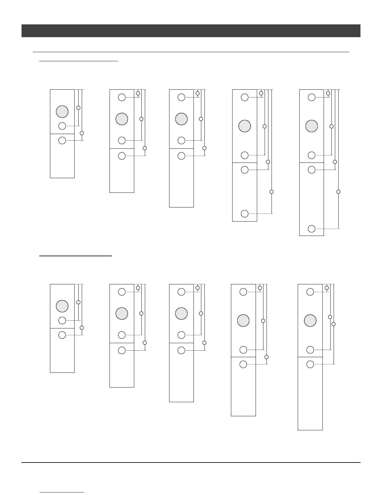
Air Intake Duct Quantity and Location
Single Sided, Side, or Full Bay
See Through, Pier, or Island
Single Sided 72" Version
Side 78" Version
Full Bay 84" Version
a
b
2 Air Intakes
a
b
c
Single Sided 84" Version
Side 90" Version
Full Bay 96" Version
3 Air Intakes
a
b
c
Single Sided 96" Version
Side 102" Version
Full Bay 108" Version
3 Air Intakes
See Through 72" Version
Pier 78" Version
Island 84" Version
2 Air Intakes
See Through 84" Version
Pier 90" Version
Island 96" Version
3 Air Intakes
See Through 96" Version
Pier 102" Version
Island 108" Version
3 Air Intakes
See Through 108" Version
Pier 114" Version
Island 120" Version
3 Air Intakes
a
b
a
b
c
a
b
c
a
b
c
a
b
c
See Through 120" Version
Pier 126" Version
Island 132" Version
3 Air Intakes
Single Sided 108" Version
Side 114" Version
Full Bay 120" Version
a
b
c
d
4 Air Intakes
Single Sided 120" Version
Side 126" Version
Full Bay 132" Version
a
b
c
d
4 Air Intakes

Table of Contents