EasyManua.ls Logo

Delta ASRTU-EC16AP1TA - Page 67

Delta ASRTU-EC16AP1TA
97 pages
Print Icon
To Next Page IconTo Next Page
To Next Page IconTo Next Page
To Previous Page IconTo Previous Page
To Previous Page IconTo Previous Page
Loading...
ASRTU-EC16AP1TA EtherCAT Remote Communication Module Operation Manual
7-2
_7
This chapter describes how to configure the parameters for the ASRTU-EC16AP1TA module by means of
examples. In Sections 7.1 and 7.2 is the introduction of the configuration methods for ASRTU-EC16AP1TA
using together with different EtherCAT masters.
Control requirements
1. Control local output points Y0.0~Y0.7 of the ASRTU-EC16AP1TA module to turn ON, and monitor
the status of local input points X0.0~X0.7 of the ASRTU-EC16AP1TA module.
2. Control output points 0~7 of AS16AP11T to turn ON through ASRTU-EC16AP1TA, and monitor the
input status of input points 0~7 of AS16AP11T.
3. Control channels 1~ 4 of AS04DA_A to output 5 V voltage through ASRTU-EC16AP1TA.
4. Read the analog-to-digital conversion value from channels 1~4 of AS04AD_A through
ASRTU-EC16AP1TA.
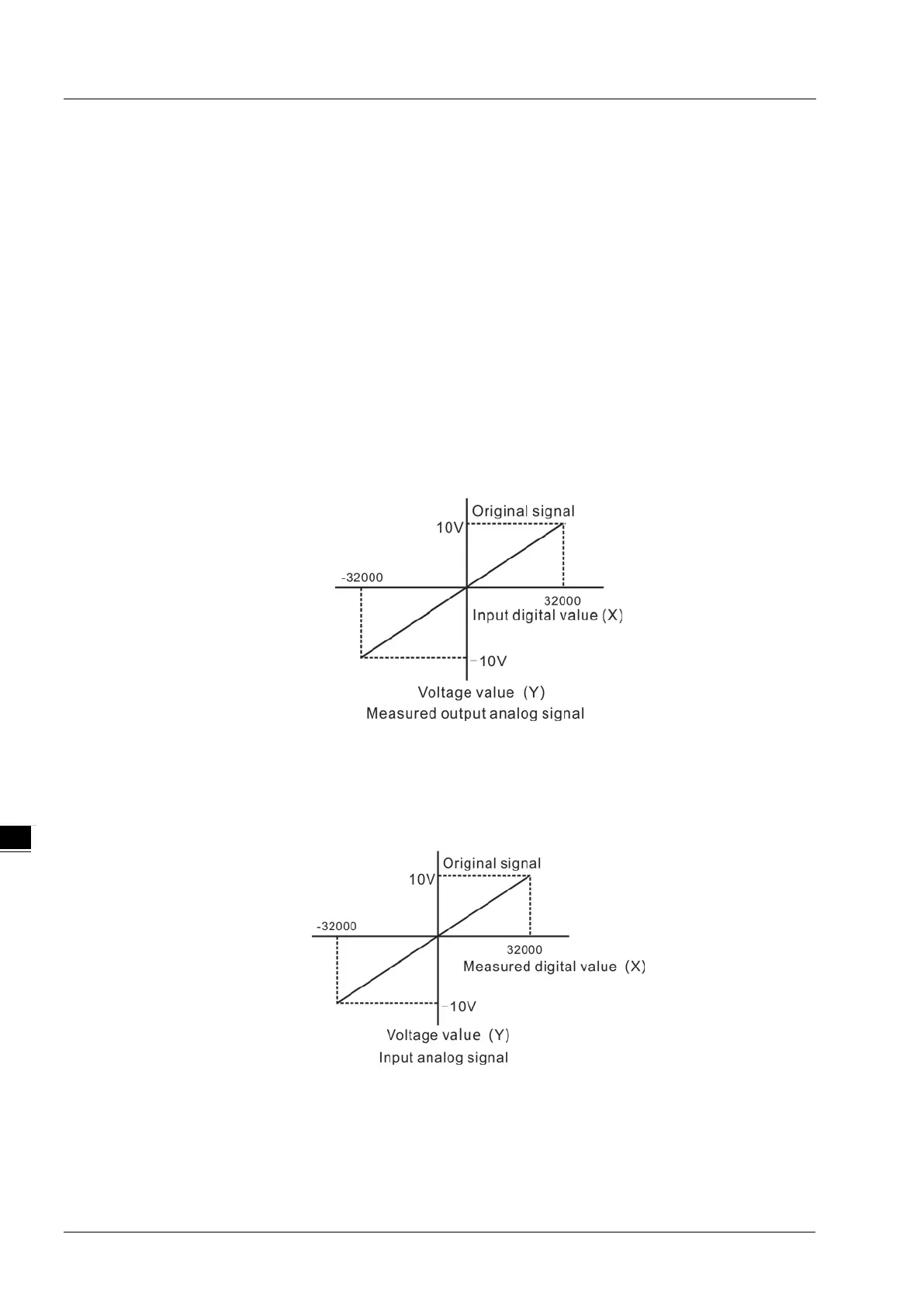
Corresponding relationship between digital values and analog values for AS04DA_A
Corresponding relationship between digital values and analog values for AS04AD_A

Table of Contents

Related product manuals