EasyManua.ls Logo

DIGITAL-LOGIC MICROSPACE PCC-P5 - PCC586 V2.1 A

Default Icon
148 pages
Print Icon
To Next Page IconTo Next Page
To Next Page IconTo Next Page
To Previous Page IconTo Previous Page
To Previous Page IconTo Previous Page
Loading...
DIGITAL-LOGIC AG PCCP5 Manual V2.3
104
DIGITAL-LOGIC AG
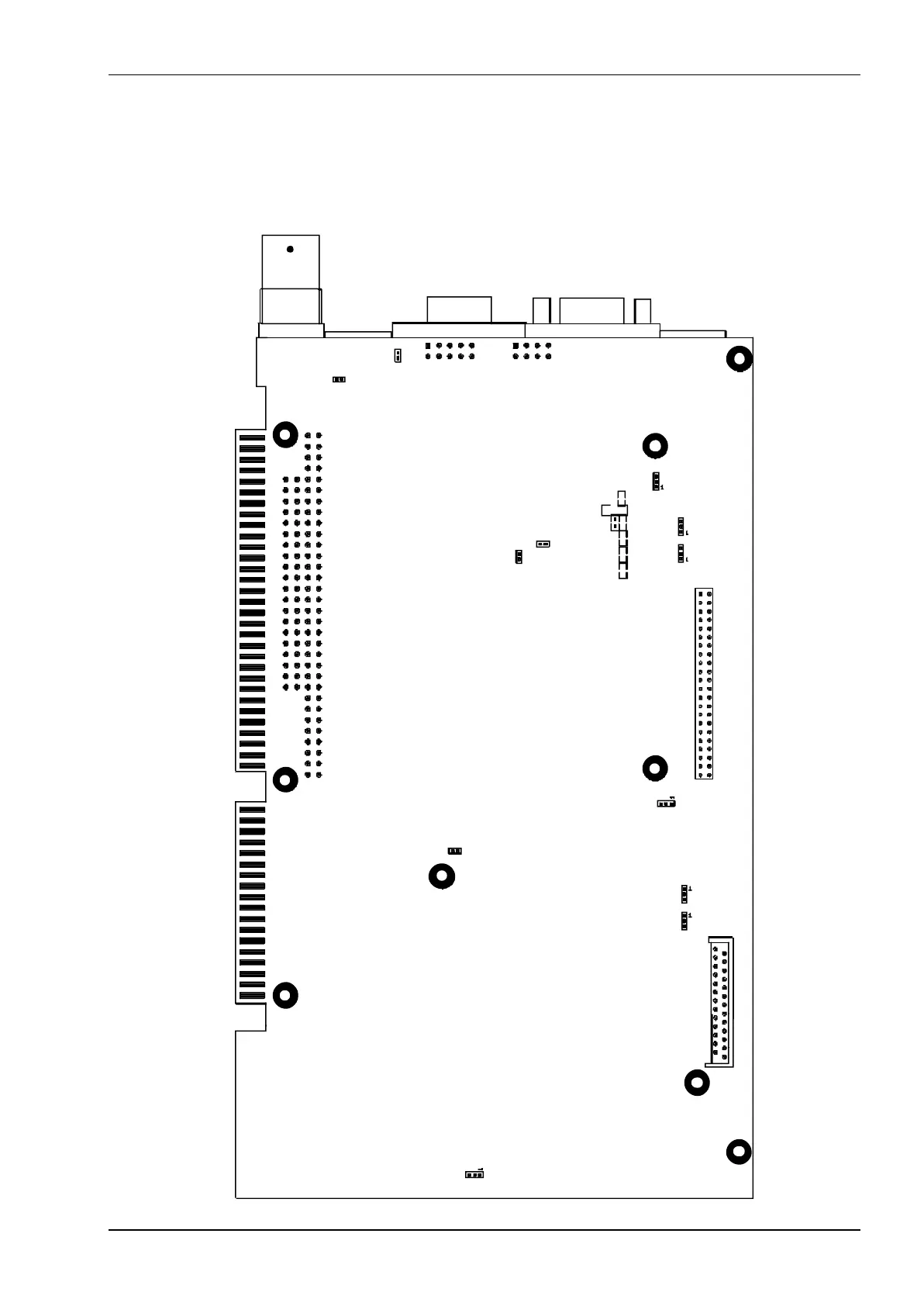
PCC586 V2.1A
JMP-LOCATION
BOTTOM-SIDE 0398 JM
J45
J68
J69
J14
J15
J16
J23 - E-IDE PRIMARY PORT SMALL
J55
J9
J12
J13
J11 - FLOPPY SMALL
J57
J46
R54
J74 J56

Table of Contents

Related product manuals