EasyManua.ls Logo

DIGITAL-LOGIC MICROSPACE PCC-P5 - PCC-P5 V2.2

Default Icon
148 pages
Print Icon
To Next Page IconTo Next Page
To Next Page IconTo Next Page
To Previous Page IconTo Previous Page
To Previous Page IconTo Previous Page
Loading...
DIGITAL-LOGIC AG PCCP5 Manual V2.3
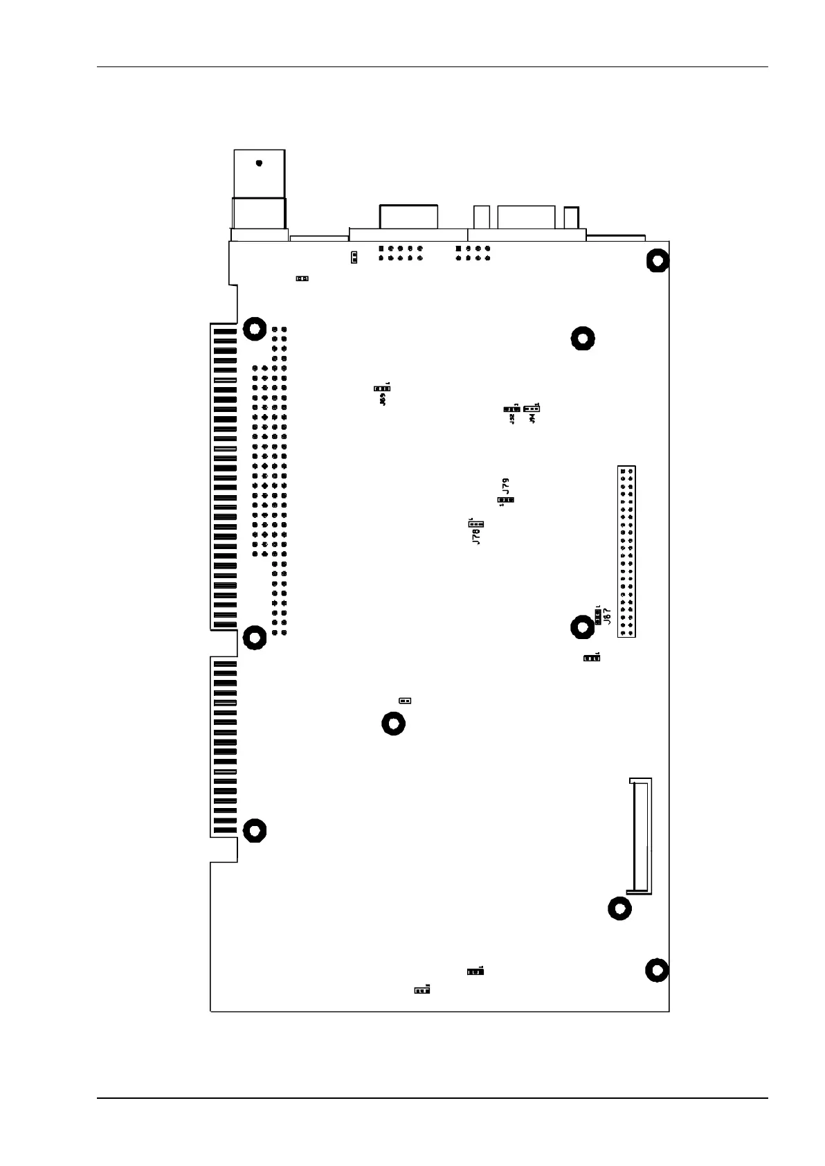
106
J45
J23 - E-IDE PRIMARY PORT SMALL
J55
J9
J11 - FLOPPY SMALL
J57
J46
J74 J56
J86
DIGITAL-LOGIC AG
PCC-P5 V2.2
JMP-LOCATION
BOTTOM VIEW 0999 MAJ

Table of Contents

Related product manuals