EasyManua.ls Logo

Duratech 2009 - Page 87

Default Icon
132 pages
Print Icon
To Next Page IconTo Next Page
To Next Page IconTo Next Page
To Previous Page IconTo Previous Page
To Previous Page IconTo Previous Page
Loading...
79
2009 DURATECH TUB GRINDER OPERATING INSTRUCTIONS
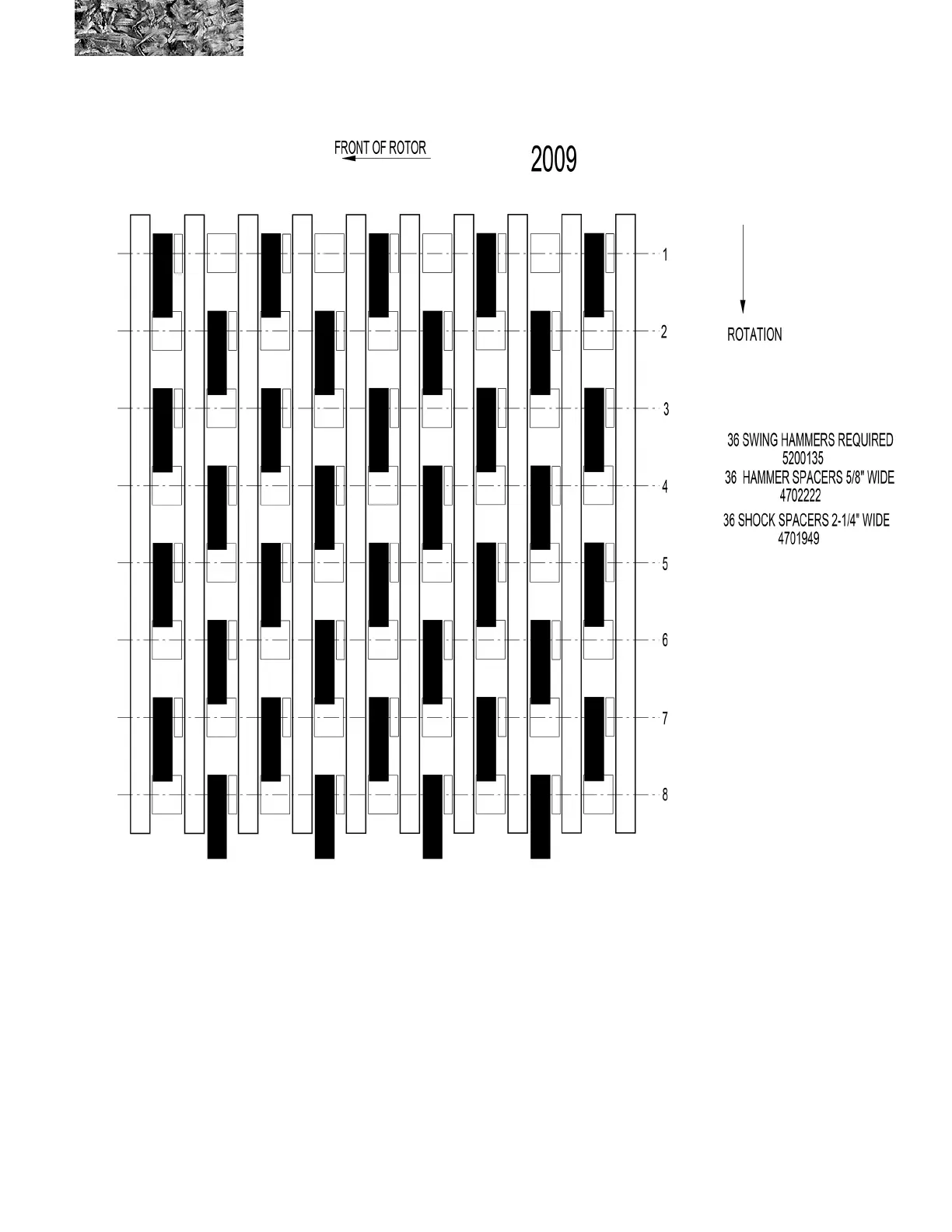
gure 5.14
swing hammer pattern
(36 hammers)
SWINGING HAMMERS SPACING CHART

Table of Contents