EasyManua.ls Logo

Electrolux R134A - Page 89

Electrolux R134A
94 pages
Print Icon
To Next Page IconTo Next Page
To Next Page IconTo Next Page
To Previous Page IconTo Previous Page
To Previous Page IconTo Previous Page
Loading...
7-4
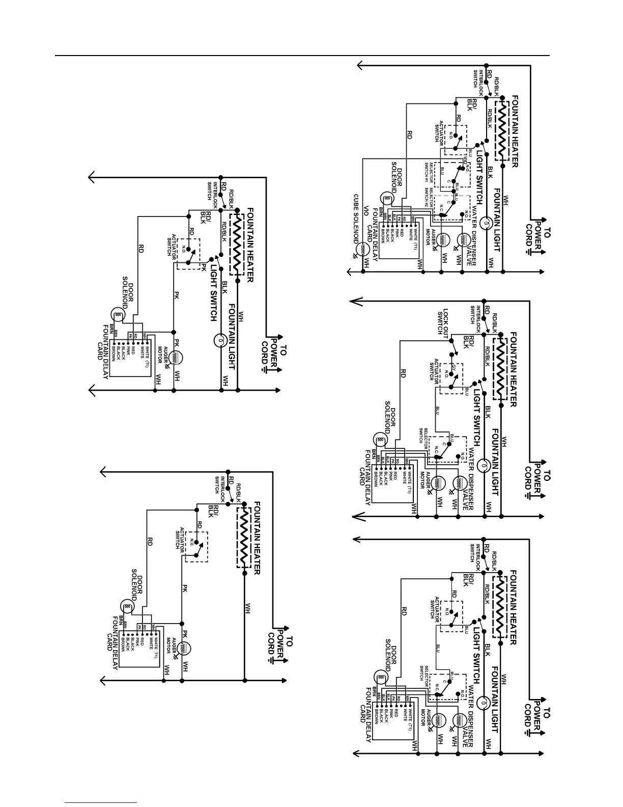
CRUSHER/CUBE/WATER/LIGHT
CUBE/WATER/LIGHT/LOCK
CUBE/LIGHT
CUBE
DISCONNECT THE UNIT
FROM THE POWER
SOURCE
CUBE/WATER/LIGHT
SCHEMATIC - RWD3

Table of Contents

Other manuals for Electrolux R134A

Related product manuals