EasyManua.ls Logo

ENSONIQ ASR-10 - Figure 22 - SCSI Board Mounting; Section K - Installing and Removing the SCSI Board

ENSONIQ ASR-10
84 pages
Print Icon
To Next Page IconTo Next Page
To Next Page IconTo Next Page
To Previous Page IconTo Previous Page
To Previous Page IconTo Previous Page
Loading...
Replacing ASR-I
O/88
Modules
Installing and Removing the SCSI Board
Installing
1.
Remove all cables connected to the ASR-10, including the power cord.
2.
Turn the unit upside-down and remove all the screws from the base and rear panel.
3.
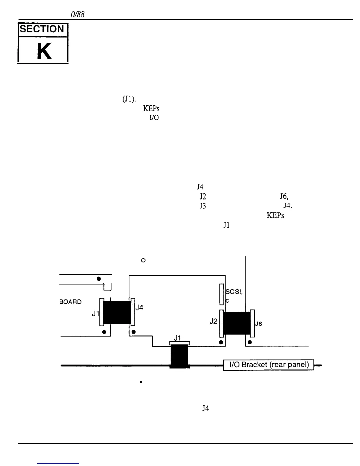
Disconnect both ends of the 34-pin ribbon cable that connect the digital board (J6) to the
analog board
(Jl).
4.
Remove the two (2)
KEPs
nuts (nuts with star washers attached) that hold the SCSI
opening bracket to the
I./O
bracket. The SCSI opening bracket is no longer needed.
5.
Install the SCSI board between the analog board (4090017101) and the digital board (see
Figure 19):
a)
Install the two (2) plastic standoffs into the holes in the keyboard bracket, and
b)
Install two (2) 6-32 screws into the mounting brackets. One on center stringer bracket
and one on the right support bracket.
6. Connect the following cables:
a)
A 34-pin ribbon cable: SCSI board
54
to edge analog board J 1,
b)
A 34-pin ribbon cable: SCSI board
52
to edge of digital board
56,
and
c)
A 26-pin ribbon cable: SCSI board
53
to center of digital board
54.
7.
Attach SCSI cable bracket to the I/O bracket using the two (2) KEPs nuts.
8.
Attach the cable from the SCSI cable bracket to
Jl
on the SCSI board.
9.
Place an ohmmeter across R14 of the SCSI board (see Figure 19).
10. Verify that the resistance is between 1900% and 2 100% .
heat sink 0
ANALOG
o standoff locations
l screw locations
DIGITAL BOARD
0
0
4090016901
26-pin ibbon cable to J4
SCSI BOARD J3
enter of digital board
Figure 22
-
SCSI Board Mounting
11. If it is less than 1900% , there is a total or partial short between analog and digital ground.
Disconnect the 20-pin ribbon cable from
54
on the analog board.
a)
If this fixes the problem, there is a problem with the tape insulation on the analog jack
board mounting tab.
1)
Remove the analog board and analog jack board as described in Sections B and G.
50
ASR Service Manual

Table of Contents

Other manuals for ENSONIQ ASR-10

Related product manuals