EasyManua.ls Logo

Epson FX-870 - Loading a Roll of Paper

Epson FX-870
184 pages
Print Icon
To Next Page IconTo Next Page
To Next Page IconTo Next Page
To Previous Page IconTo Previous Page
To Previous Page IconTo Previous Page
Loading...
Roll Paper Holder
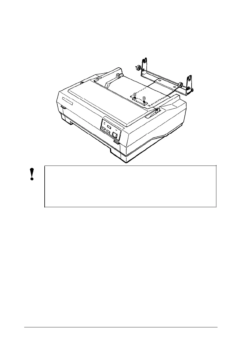
6.
Position the roll paper holder underneath the printer as shown
below. The positioning pegs on the bottom of the printer fit into
the holes in the base plate.
t
CAUTION: During use, only the weight of the printer
0
holds the roll paper holder in place. The positioning pegs
serve to keep the holder from slipping out of position. If
you pick up the printer, be careful to avoid dropping the
roll paper holder.
Loading a roll of paper
After you have installed the roll paper holder, load a roll of paper as
follows:
1.
Make sure the printer is turned off and the paper guide and the
tractor unit are removed.
2.
Set the paper-release lever to the single-sheet position.
4-18
Using the Printer Options

Table of Contents

Other manuals for Epson FX-870

Related product manuals