EasyManua.ls Logo

Evalue Technology ECM-3610 - System Architecture Overview; Architecture Block Diagram

Default Icon
167 pages
Print Icon
To Next Page IconTo Next Page
To Next Page IconTo Next Page
To Previous Page IconTo Previous Page
To Previous Page IconTo Previous Page
Loading...
ECM-3610/3610L
ECM-3610/3610L Users Manual 5
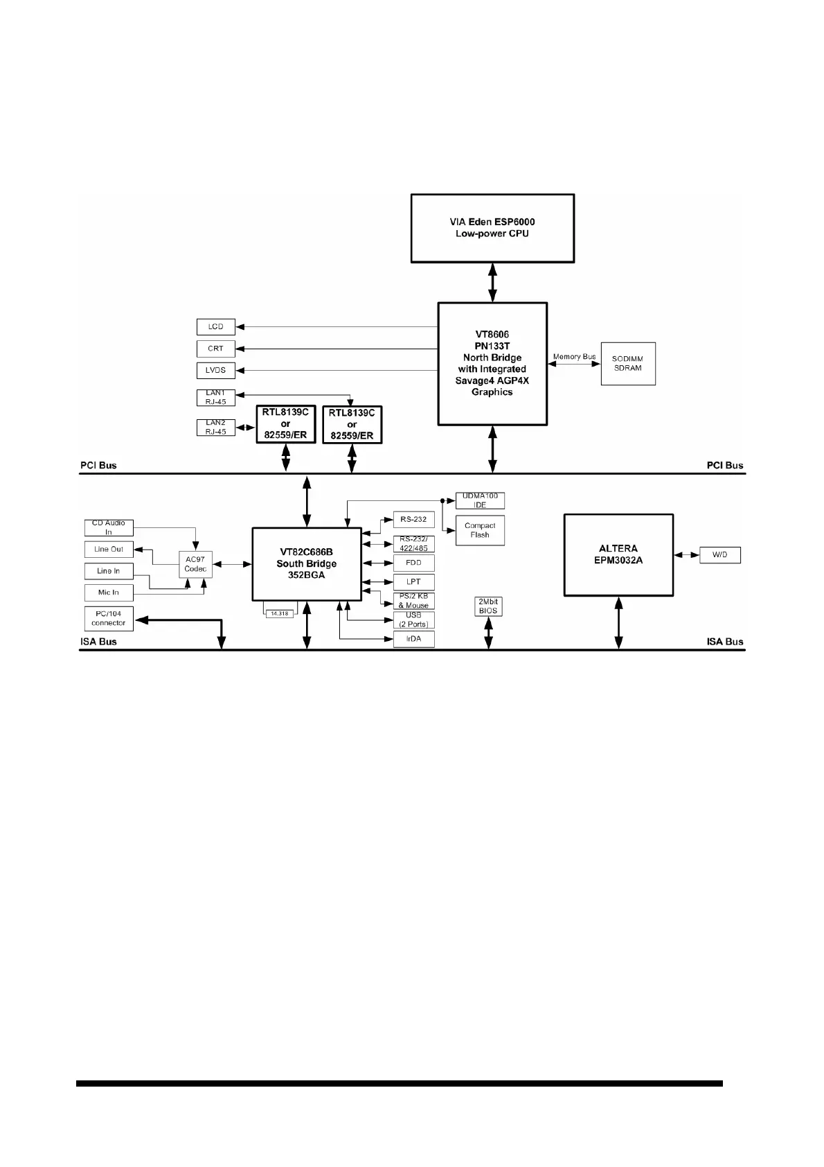
2.3 Architecture Overview
The following block diagram shows the architecture and main components of ECM-3610.
The two key components on board are the VIA VT8606 North Bridge and VT82C686B
super South Bridge. These two devices provide the ISA and PCI bus to which all the major
components are attached.
The following sections provide detail information about the functions provided onboard.

Table of Contents