EasyManua.ls Logo

EverFocus ECOR2 - Page 142

EverFocus ECOR2
147 pages
Print Icon
To Next Page IconTo Next Page
To Next Page IconTo Next Page
To Previous Page IconTo Previous Page
To Previous Page IconTo Previous Page
Loading...
134
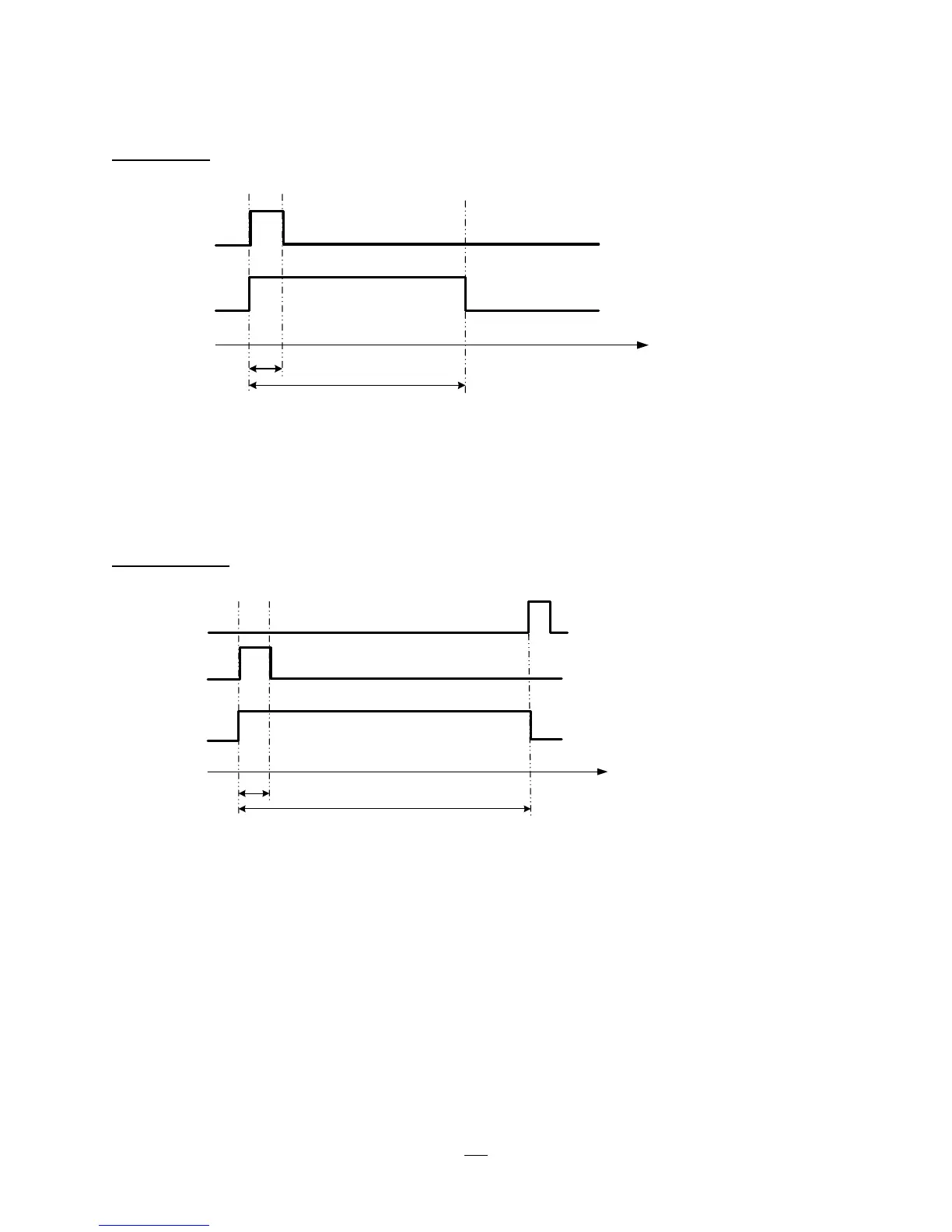
Timeout Mode
t
Input Event
Alarm Duration
t
Duration =
t
Reaction
t
Event
t
Event
: Duration of alarm input source (motion, contact, system events...)
t
Duration
: Alarm duration for timeout, defined in the event setup menus
t
reaction
: Resulting duration for this alarm mode, related to event record, alarm outputs, OSD message,
buzzer
Permanent Mode
t
Input Event
Alarm Duration
t
Reaction
t
Event
Alarm Reset
t
Event
: Duration of alarm input source (motion, contact, system events...)
t
Duration
: Alarm duration for timeout, defined in the event setup menus
t
reaction
: Resulting duration for this alarm mode, related to event record, alarm outputs, OSD message,
buzzer

Table of Contents

Related product manuals