EasyManua.ls Logo

Extra EA 400 - Page 261

Default Icon
400 pages
Print Icon
To Next Page IconTo Next Page
To Next Page IconTo Next Page
To Previous Page IconTo Previous Page
To Previous Page IconTo Previous Page
Loading...
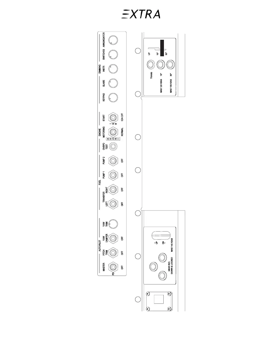
Pilot’s Operating Handbook Section 7
EXTRA 500 Description of Airplane and Systems
LANDING
GEAR
FLAPS
ARTEX
ELT
Figure 7-4
Main Panel Switches
26. January 2011 7-11

Table of Contents

Related product manuals