EasyManua.ls Logo

FireFlex TOTALPAC2 - Programming & Field Wiring Diagram

FireFlex TOTALPAC2
76 pages
Print Icon
To Next Page IconTo Next Page
To Next Page IconTo Next Page
To Previous Page IconTo Previous Page
To Previous Page IconTo Previous Page
Loading...
Page 4 of 12 TOTALPAC2
TOTALPAC2 Integrated Fire Protection System
Deluge System - Programming & Field Wiring Diagram
FM-086G-0-38E
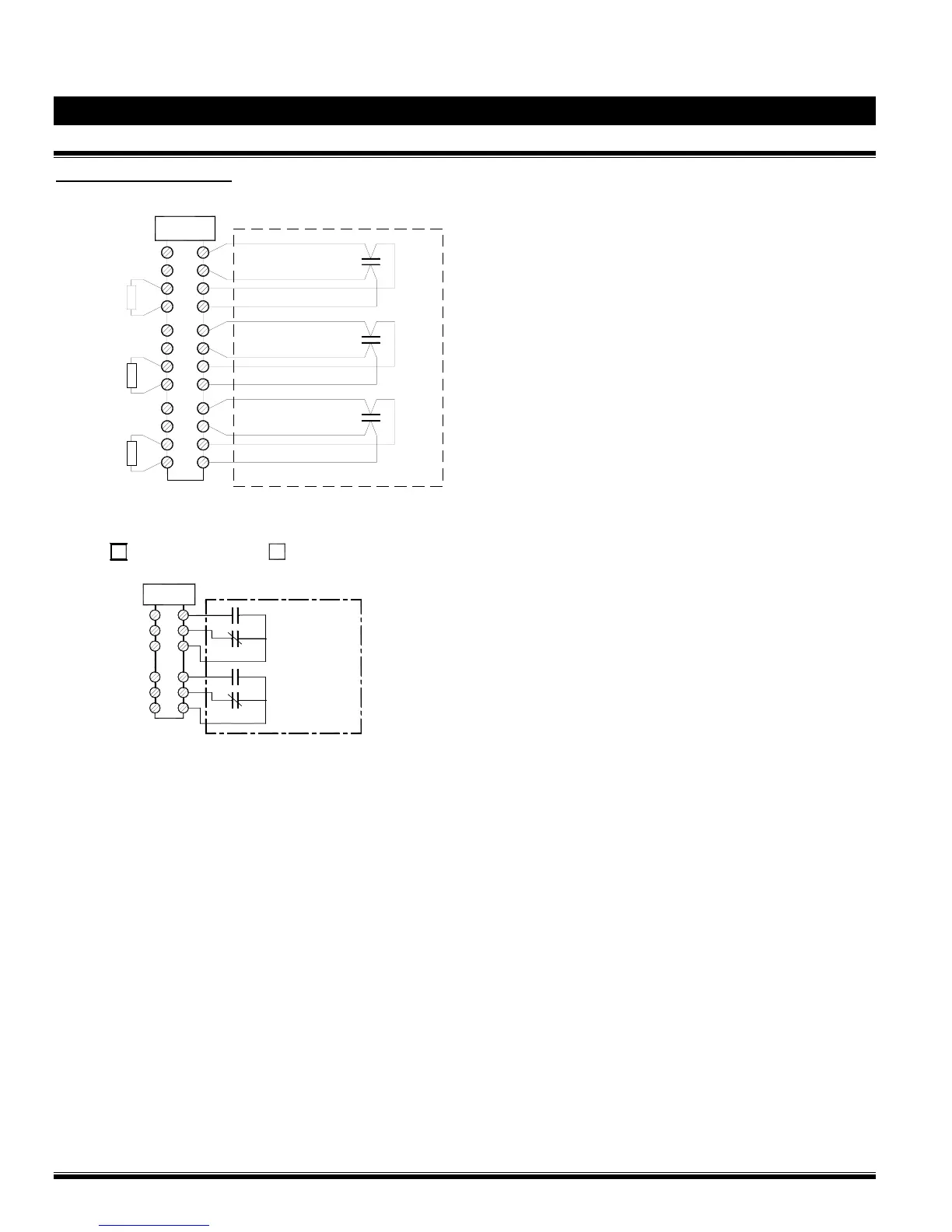
Field wiring diagrams
:
1
2
TBA
WATER FLOW
SWITCH
EOL
4
3
WATER FLOW
+
-
MAIN VALVE
EOL
MAIN VALVE
SUP'V SWITCH
+
-
TEST VALVE
EOL
SUP'V SWITCH
TEST VALVE
8
7
-
+
6
5
FM-072Q-0-27 B
9
10
12
11
RELEASE CONTROL PANEL USED (NOT INCLUDED).
- USE END-OF-LINE DEVICES COMPATIBLE WITH THE
NOTES:
- ALL DEVICES ARE SHOWN IN THEIR
- DRY CONTACTS RATINGS:
PRESS. SWITCHES: 2.5 A. 0-30VDC RESISTIVE / 15A. 30 VAC
USE ONLY WITH POWER LIMITED CIRCUITS
SUPV. SWITCHES: 0.5 A. 125 VDC RESISTIVE / 10 A. 30 VAC
NORMAL SUPERVISORY STATE.
FACTORY WIRED DEVICES
(OPTIONAL)
TBC
1
2
3
MAIN VALVE
SUPERVISORY
FACTORY WIRED DEVICES
FM-072Q-0-67 C
LOS ANGELES OPTION CHICAGO OPTION
C
N.O.
N.C.
SUPERVISORY
TEST VALVE
6
5
4
N.C.
C
N.O.
Notes:
1. Contacts provided for connection to the building's central
Fire Alarm Panel.
OPTIONAL

Table of Contents

Other manuals for FireFlex TOTALPAC2