EasyManua.ls Logo

GRAPHTEC FC9000-140 - Page 149

GRAPHTEC FC9000-140
227 pages
Print Icon
To Next Page IconTo Next Page
To Next Page IconTo Next Page
To Previous Page IconTo Previous Page
To Previous Page IconTo Previous Page
Loading...
FC9000-UM-251-9370 8-59
8 Electrical Adjustment
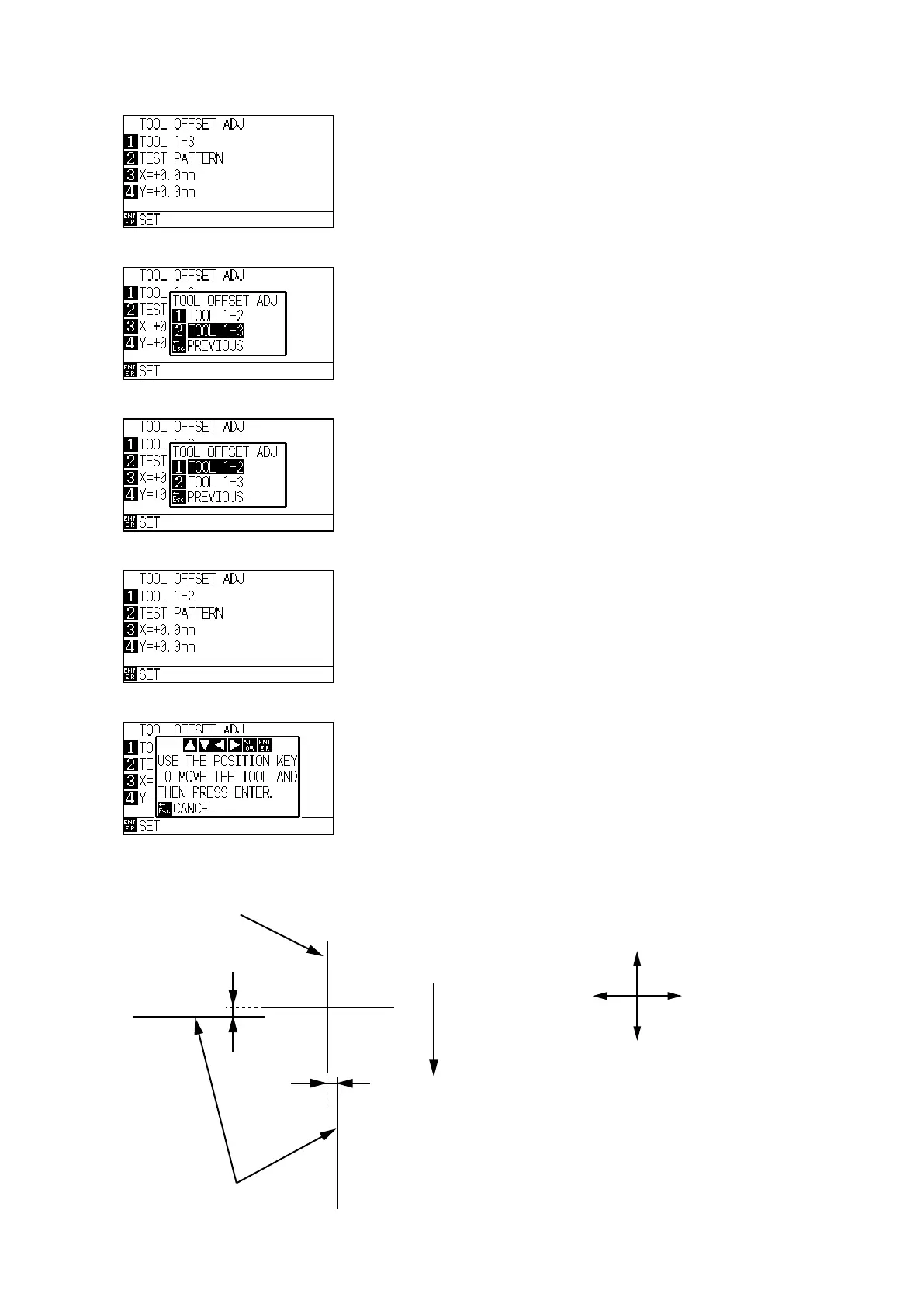
(13) Press the F1 key to display the following menu.
(14) Press the F1 key to display the following menu.
(15) Press the F1 key to select the TOOL 1-2.
(16) The following menu is displayed. The adjustment tool is shown 1-2.
(17) Press the F2 key to display, the following menu is displayed.
Use the Position keys to move the pen to an open area to plot the adjustment pattern.
(18) Press the ENTER key to draw the cross marks by pen 1 and pen 2 as shown below.
Media feed
direction
Lines plotted by tool 2
Cross mark
plotted by
tool 1
Y
X
+Y -Y
+X
-X

Table of Contents

Other manuals for GRAPHTEC FC9000-140

Related product manuals