EasyManua.ls Logo

Imaje S8 Classic - Deleting a Character

Default Icon
142 pages
Print Icon
To Next Page IconTo Next Page
To Next Page IconTo Next Page
To Previous Page IconTo Previous Page
To Previous Page IconTo Previous Page
Loading...
A20733 B0 33
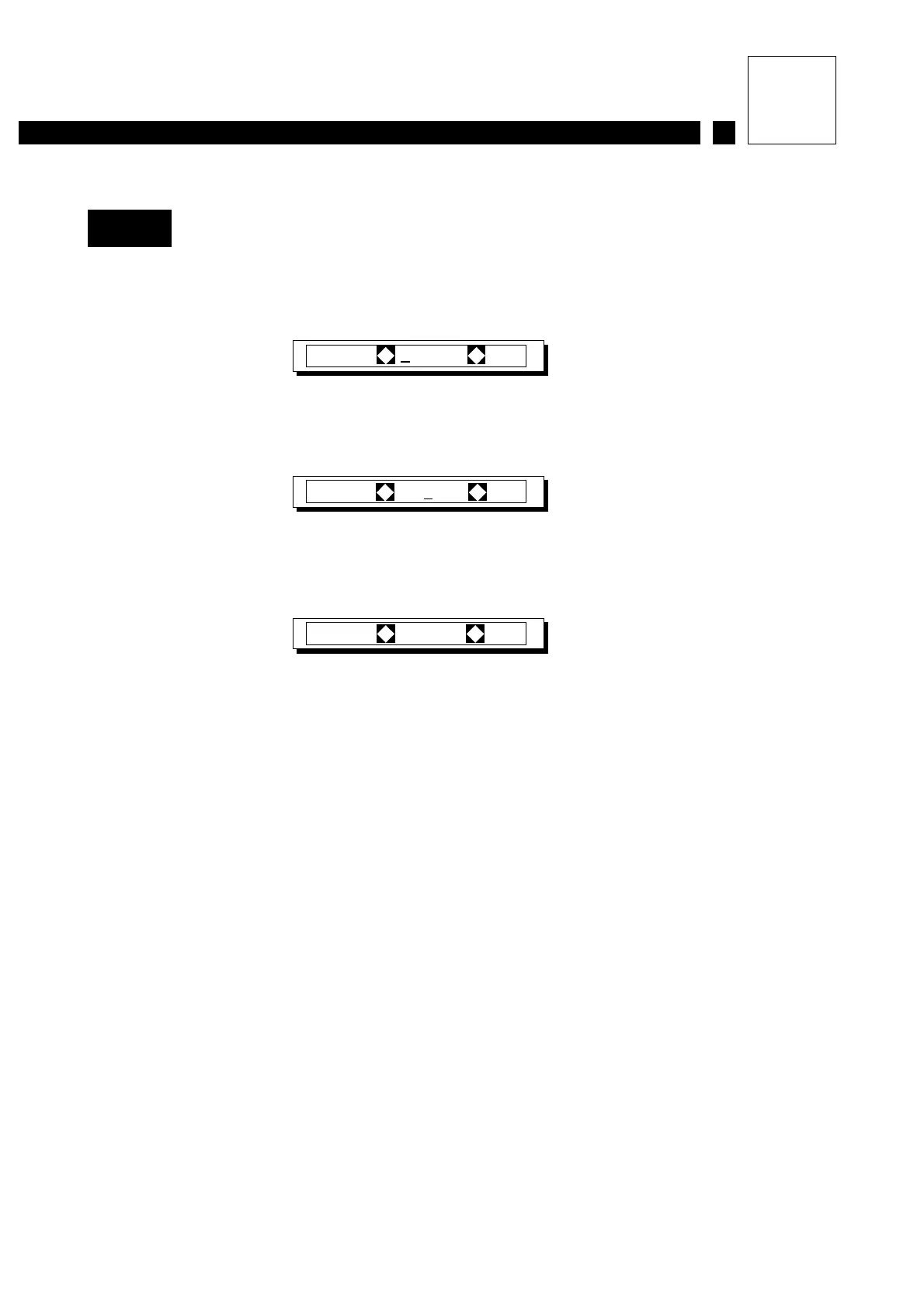
DELETING A CHARACTER
Press Display Comment
d OR g
Move the cursor and position it
underneath the character to be deleted.
h
Delete the character.
M3
2CLAASSIC
2CLAASSIC
2CLASSIC
Message programming

Table of Contents

Related product manuals