EasyManua.ls Logo

Invacare Solara - Page 32

Invacare Solara
60 pages
Print Icon
To Next Page IconTo Next Page
To Next Page IconTo Next Page
To Previous Page IconTo Previous Page
To Previous Page IconTo Previous Page
Loading...
SECTION 5—SEAT
Solara
and Solara
Limited 32 Part No 1085787
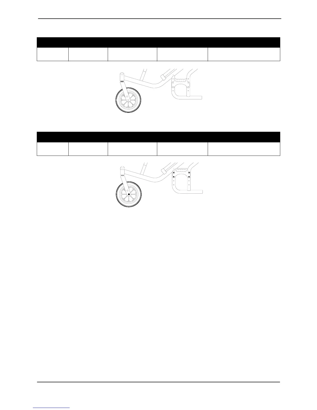
19¼ INCH SEAT-TO-FLOOR
-OR-
NOTE: The seat-to-floor heights are based on pneumatic tires and pneumatic tires with flat free
inserts. If wheelchair is equipped with urethane tires, subtract ¼ inch from the measurements listed
above. All heights are measured with properly inflated new tires. These heights can vary ± ¼ inch
due to tire wear.
*NOTE: A 2-inch lower seat-to-floor is obtainable when attaching the seat pan/seating system to
the crossmembers instead of the seat rails.
FORK CASTER REAR WHEEL AXLE PLATE SEAT-TO-FLOOR
8 inch/
Bottom Hole
8 inch 20 inch Rounded Down/
Middle 2 Holes
19¼ inch
*17¼ inch
FORK CASTER REAR WHEEL AXLE PLATE SEAT-TO-FLOOR
8 inch/
Bottom Hole
8 inch 22 inch Rounded Down/
Top 2 Holes
19¼ inch
*17¼ inch

Table of Contents

Related product manuals