EasyManua.ls Logo

Keysight U1252B - Impostazione Della Modalità Data Hold;Refresh Hold

Keysight U1252B
722 pages
Print Icon
To Next Page IconTo Next Page
To Next Page IconTo Next Page
To Previous Page IconTo Previous Page
To Previous Page IconTo Previous Page
Loading...
4 Modifica delle impostazioni predefinite
106 Keysight U1251B e U1252B Guida all’uso e alla manutenzione
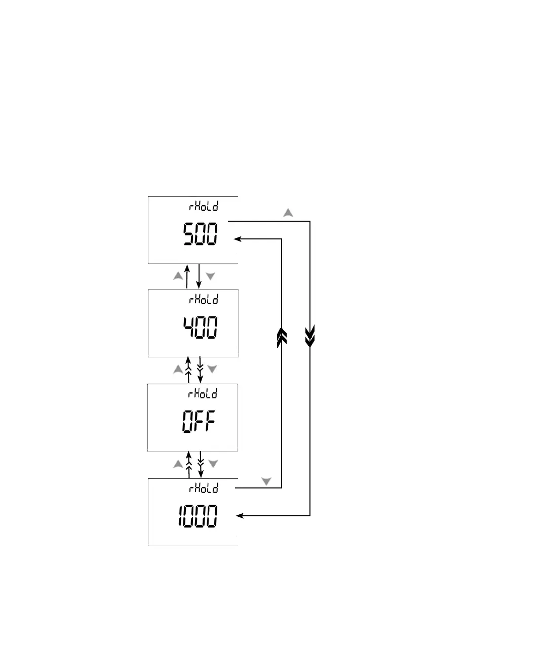
Impostazione della modalità Data Hold/Refresh Hold
1 Impostare OFF per attivare la modalità Data Hold (trigger manuale mediante
tasto o controllo remoto tramite bus).
2 Per abilitare la modalità Refresh Hold (trigger automatico) impostare il
conteggio delle variazioni tra 100 e 1000. Quando la variazione del valore
di misurazione supera l'impostazione del conteggio di variazione, la modalità
Refresh Hold viene attivata.
Figura 4-1 Impostazione della modalità Data hold/Refersh Hold
Premere
Premere
Premere
Premere
Premere

Table of Contents

Related product manuals