EasyManua.ls Logo

Komatsu 830E - Page 497

Komatsu 830E
783 pages
Print Icon
To Next Page IconTo Next Page
To Next Page IconTo Next Page
To Previous Page IconTo Previous Page
To Previous Page IconTo Previous Page
Loading...
L08031 Hoist Circuit Component Repair L8-5
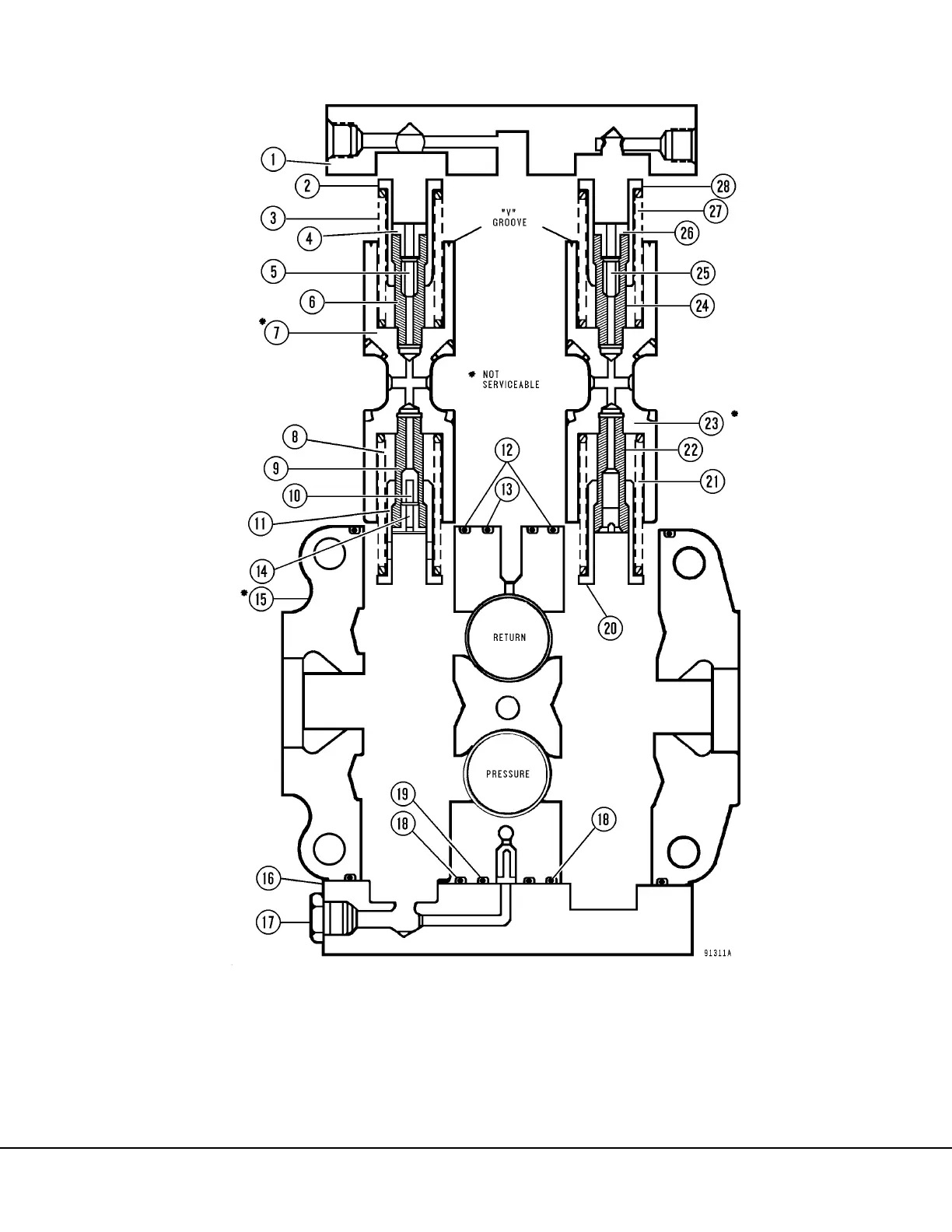
FIGURE 8-10. SPOOL SECTION ASSEMBLY
1. Cover
2. Spring Seat
3. Spring
4. Plug
5. Poppet (Red)
6. Spool End
7. Spool
8. Spring (Blue)
9. Spool End
10. Poppet (White)
11. Spring Seat
12. O-Ring
13. O-Ring
14. Plug
15. Spool Housing
16. Cover
17. Plug
18. O-Ring
19. O-Ring
20. Spring Seat
21. Spring (Blue)
22. Spool End
23. Spool
24. Spool End
25. Poppet (Green)
26. Plug
27. Spring
28. Spring Seat

Table of Contents

Other manuals for Komatsu 830E

Related product manuals