EasyManua.ls Logo

Konica Minolta 7155 - Page 36

Konica Minolta 7155
663 pages
Print Icon
To Next Page IconTo Next Page
To Next Page IconTo Next Page
To Previous Page IconTo Previous Page
To Previous Page IconTo Previous Page
Loading...
MAIN BODY
1-4
1 OUTLINE
7155/7165/7255/7272 PRODUCT SPECIFICATIONS
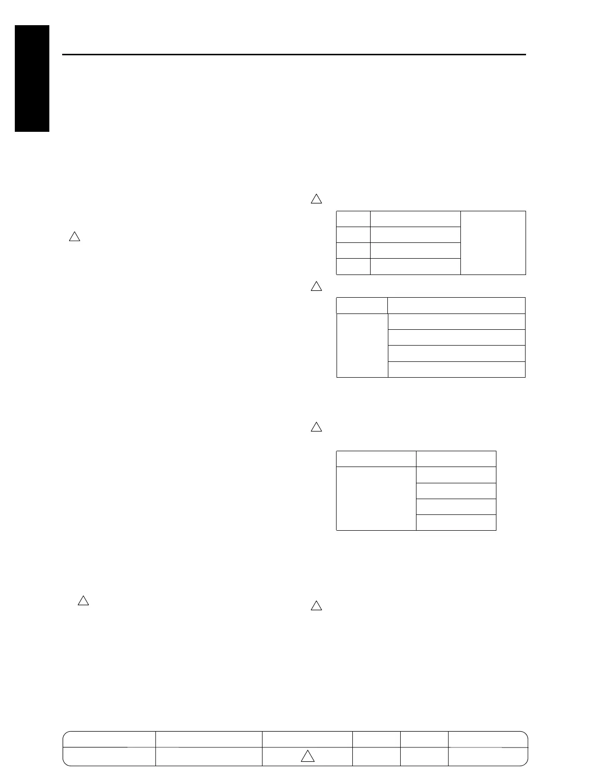
[1] Type
Installation type:
Console type (floor-mounted)
Copying method:
Indirect electrostatic method
Document tray type:
Fixed
Photosensitive material:
OPC
Sensitizing method:
Laser writing
Paper feed trays:
7155/7165:
Three stacked trays (two for 500 sheets of 80
g/m
2
or 20 lb paper, 1500 sheets of 80 g/m
2
or
20 lb paper)
7255/7272:
Four stacked trays (1500 sheets: 64g/m
2
or 17
lb x 1, 1000 sheets: 64g/m
2
or 17 lb x 1, 550
sheets: 64g/m
2
x 2)
Common:
By-pass tray for various paper sizes (100
sheets of 80 g/m
2
or 20 lb paper)
LT-402 (4000 sheets of 80 g/m
2
or 20 lb
paper)*1,
LT-412 (4000 sheets of 80/m
2
or 20lbs
paper)*1
*1: Optional
[2] Functions
Applicable document types:
Sheets, book, solid object
Document size:
A3/11x17 maximum
Copy paper size:
Metric area
A3 to A6R, 11x17 to 8.5x11, F4
Inch area
11x17 to 8.5x5.5, A3 to B5R, F4
Wide paper (7155/7165:314 mm x 459 mm max.)
(7255/7272:314 mm x 458 mm max.)
Magnifications
Fixed magnifications:
Metric area
x1.00, x2.00, x1.41, x1.22, x1.15, x0.86, 0.82,
x0.71, x0.50
Inch area
x1.00, x2.00, x1.55, x1.29, x1.21, x0.93, 0.77,
x0.65, x0.50
Special ratio magnifications:
3 modes
Zoom magnifications:
x0.25 to x4.00 (in 1% steps)
Vertical magnifications:
x0.25 to x4.00 (in 1% steps)
Horizontal magnifications:
x0.25 to x4.00 (in 1% steps)
Warm-up time:
First copy out time (FCOT)
*
Straight paper ejection, platen mode, life size,
non AE or AES, without finisher, paper feed
from tray 1
Continuous copy speed (life size, copies/
min)
Continuous copy count:
1 to 9999
Copy density selection:
AE or AES, manual (9 steps)
Arbitrary density (2 modes)
E-RDH memory capacity:
Standard 64 MB
Maximum 320 MB (7155/7165), 576 MB
(7255/7272)
4
4
7155 5.5 minutes max.
68
°
F, rated
voltage
7165 6.5 minutes max.
7255 5 minutes max.
7272 6 minutes max.
Mode A4/8.5x11
Manual 3.4 seconds or shorter (7155)
3.1 seconds or shorter (7165)
3.4 seconds or shorter (7255)
3.0 seconds or shorter (7272)
Size cpm
A4/8.5x11 55 (7155)
65 (7165)
55 (7255)
72 (7272)
4
4
4
4
MODEL MANUAL REVISED EDITION DATE PAGE METHOD
SERVICE MANUAL Dec. 2003
7155/7165/7255/7272
1-2 REPLACEMENT
4

Table of Contents

Related product manuals