EasyManua.ls Logo

Lenze EPM-T1 Series - Page 386

Lenze EPM-T1 Series
544 pages
To Next Page IconTo Next Page
To Next Page IconTo Next Page
To Previous Page IconTo Previous Page
To Previous Page IconTo Previous Page
Loading...
Parameterising SSI interface
Process data assignment for "SSI mapping standard 1" (I4104 = 1)
12
Parameter setting via system bus (CAN) / CANopen
12.5
12.5.4
L
12.5−10
EDSPM−TXXX−9.0−11/2009
E/A.0
E/A.1
=01 =02
SSI
Encoder
=
=
R
PDO
x
Data to module
Control
Data In HB
Data In HB
Data In HB
Data In HB
Data In MB
Data In MB
Data In MB
Data In MB
Data In LB
Data In LB
Data In LB
Data In LB
01234567
T
PDO
x
Status
Status
Data Out HB
Data Out HB
Data Out MB
Data Out MB
Data Out LB
Data Out LB
01234567
Data from module
load
compare
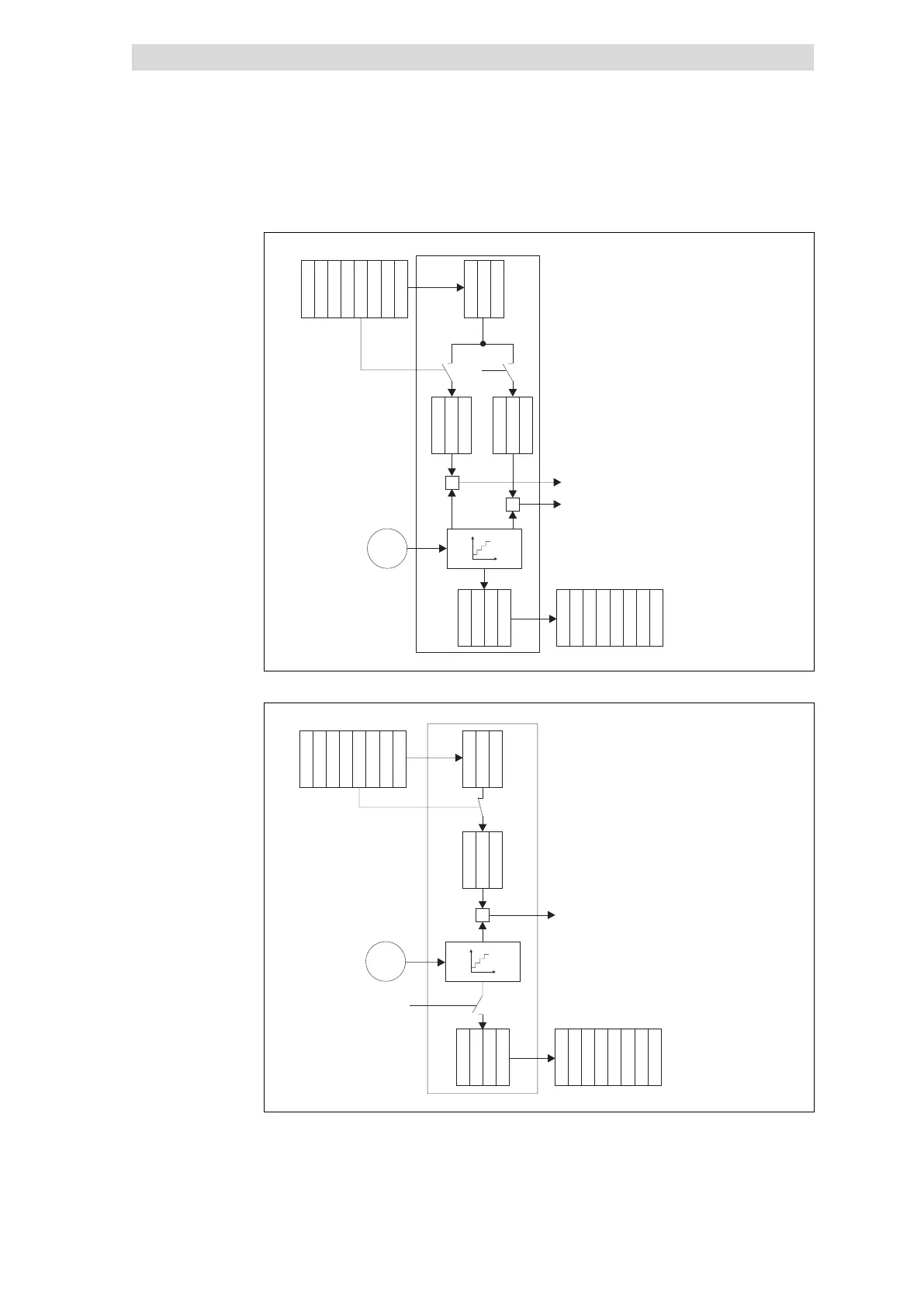
epm−t197
Fig. 12.5−12 Counter access SSI interface, Hold function deactivated
E/A.1
E/A.0
=02
load
compare
hold
= +24 V
R
PDO
x
T
PDO
x
Data to module
SSI
Encoder
=
Control
DataInHB
DataInHB
DataInHB
DataInMB
DataInMB
DataInMB
DataInLB
DataInLB
DataInLB
01234567
Status
Status
Data Out HB
Data Out HB
Data Out MB
Data Out MB
Data Out LB
Data Out LB
01234567
Data from module
epm−t198
Fig. 12.5−13 Counter access SSI interface, Hold function activated
Counter access

Table of Contents

Related product manuals