EasyManua.ls Logo

Lenze EPM-T1 Series - Page 400

Lenze EPM-T1 Series
544 pages
To Next Page IconTo Next Page
To Next Page IconTo Next Page
To Previous Page IconTo Previous Page
To Previous Page IconTo Previous Page
Loading...
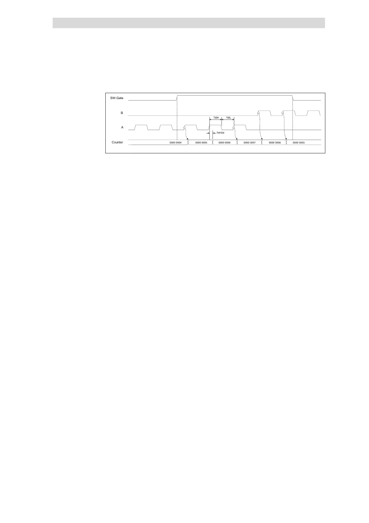
Parameterising 1xcounter/16xdigital input module
32 bit counter with clock up/down evaluation (mode 2)
12
Parameter setting via system bus (CAN) / CANopen
12.6
12.6.5
L
12.6−10
EDSPM−TXXX−9.0−11/2009
epm−t182
Fig. 12.6−11 Signal characteristic of 1xcounter/16xdigital input in the mode 2
Signal characteristic

Table of Contents

Related product manuals