EasyManua.ls Logo

Logan X90 - Diagram

Logan X90
231 pages
Print Icon
To Next Page IconTo Next Page
To Next Page IconTo Next Page
To Previous Page IconTo Previous Page
To Previous Page IconTo Previous Page
Loading...
19A-4
COOLING SYSTEM
Diagram
K7J, and 710
19A
109415
6
5
4
3
2
1
7
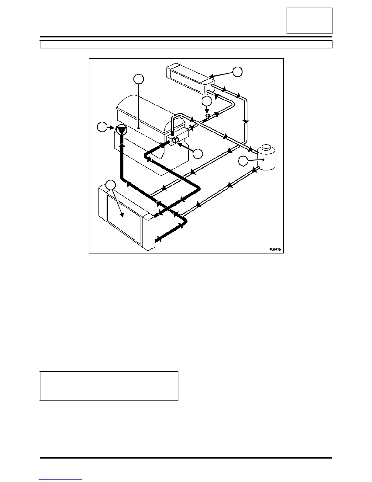
(1) Engine
(2) Water pump
(3) Thermostat
(4) Bleed screw
(5) Heater radiator
(6) Cooling radiator
(7) Expansion bottle
Note:
The expansion bottle degassing valve rating is 1.4
bar.

Table of Contents