EasyManua.ls Logo

MCCORMICK X60.40 - Auxiliary Control Valves and Joystick

Default Icon
262 pages
Print Icon
To Next Page IconTo Next Page
To Next Page IconTo Next Page
To Previous Page IconTo Previous Page
To Previous Page IconTo Previous Page
Loading...
131
Operation
5
NOTE: To ensure that the hydraulic circuit operates in
a regular way, the level of the transmission oil must be
frequently checked and topped up if necessary, as indi-
cated in the “Checking the transmission oil level” part of
the Maintenance section.
WARNING: Make sure that the hydraulic
cylinders of the connected implements con-
tain the same type of oil as the transmission
unit of the tractor to prevent this from being
polluted and leading to faulty operation.
WARNING: The tractor must only be started
with the auxiliary valve levers are in neutral.
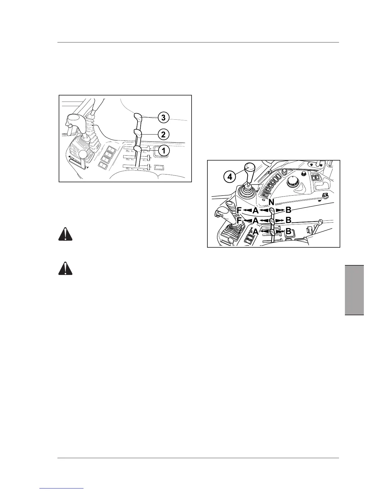
Control valve operation
- Standardcontrolvalve.
IfsettopositionsAandBandreleased,thecontrol
leverautomaticallyreturnstotheholdposition(N),
lockingtheimplementinthepositionithasassumed.
- Controlvalvewith“kick-out”automaticrelease(op-
tional).IfsettopositionsAandB,thecontrollever
remainsblockedintheassumedposition.
Oncethecylinderhasreachedendofstroke,the
pressureautomaticallyreleasesthelever,settingit
backintheneutralposition(N).
Thelevercanbemovedbacktotheneutralposition
byhandbeforethecylinderreachesendofstroke.
- Controlvalvewithfloatingposition(optional),used
forimplementsthatnormallyrestonthegroundand
followitsrelief(e.g.graders,snow-ploughs,etc.).The
floatingpositionisobtainedbymovingthelever(2)
tothesecondsettinginposition(F),whereitremains
locked.
- Specificcontrolvalve(optional)forusewithhydraulic
motors.
NOTE: Do not use the control valve for hydraulic mo-
tors to supply single/double-acting cylinders to avoid any
risks of accidents when using the connected hydraulic
equipment.
Joystick(4)-Itiscoupledtotwoauxiliarycontrolvalves.If
shiftedforward,itcontrolsthe1stvalve,ifshiftedlaterally
itcontrolsthe2ndvalve.Thelevercanbelockedby(5)
inthreepositions:
-Turnedanti-clockwiseanddownward:Everymove-
mentoftheleverislockedinneutral.
- Turned clockwise and in intermediate position: The
movementforward/backisallowedtocontrolasingle
controlvalve.Tocontrolthesecondcontrolvalve,the
lockingdevicemustbepulledupandthelevershifted
laterally.
- Turnedclockwiseattheendoftravel:Thelevercan
bemovedineverydirectionandcontrolsbothvalves.
AUXILIARY CONTROL VALVES [4.2.f]
Controlvalveleversoperatethecorrespondingvalve:
lever1operatesvalvenumber1,lever2operatesvalve
number2andsoon.
IMPORTANT: As the auxiliary control valves have differ-
ent configurations according to specific requirements
of the user, please ask your Dealer for details about the
proper and safe use of hydraulic equipment.

Table of Contents

Related product manuals