EasyManua.ls Logo

Miyachi IPB-5000A - ③ When PNP Transistor (Source Type) on PLC Is Used as Input Signal

Miyachi IPB-5000A
119 pages
Print Icon
To Next Page IconTo Next Page
To Next Page IconTo Next Page
To Previous Page IconTo Previous Page
To Previous Page IconTo Previous Page
Loading...
IPB-5000A
8. External Interface
8-3
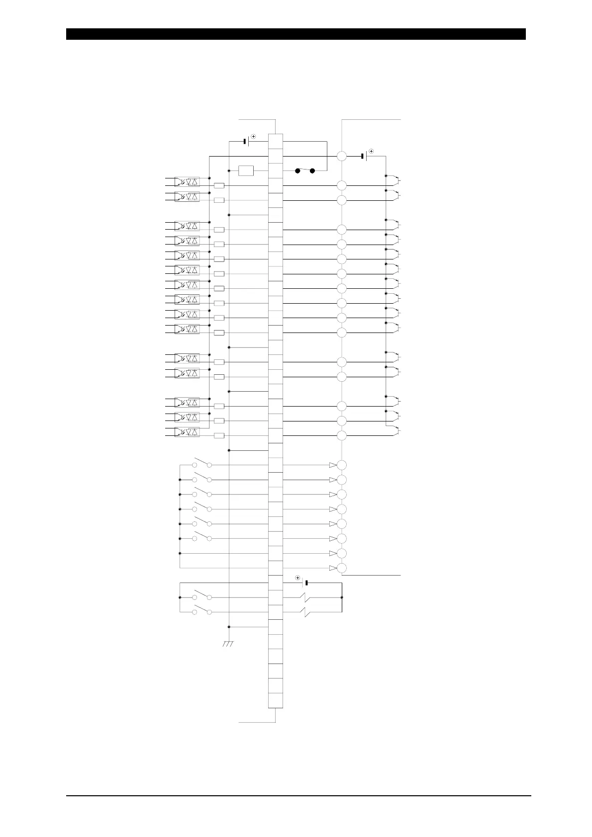
When PNP transistor (source type) on PLC is used as input signal
RY
24VDC
24VDC
INT.24V
EXT.COM
STOP
1ST
2ND
COM
SCH 1
SCH 2
SCH 4
SCH 8
SCH16
SCH32
SCH64
PARITY(WE1 STOP)
COM
WELD ON/OFF
ERROR RESET
COM
COUNT RESET
W.INTERRUPT
PRG PROTECT
COM
GOOD
NG
END
CAUTION
COUNT UP
READY
OUT COM
OUT COM
SOL POWER
SOL 1
SOL 2
SOL COM
OPTION1
OPTION2
OPTION3
OPTION4
OPTION5
24VDC
PLC
39
38
37
36
35
34
33
32
31
30
29
28
27
26
25
24
23
22
21
20
19
18
16
17
15
14
13
12
11
9
8
6
5
4
3
2
1
7
10

Table of Contents

Related product manuals