EasyManua.ls Logo

Panasonic KX-TDA100D - CLCOT8 E Card (KX-TDA1186)

Panasonic KX-TDA100D
156 pages
To Next Page IconTo Next Page
To Next Page IconTo Next Page
To Previous Page IconTo Previous Page
To Previous Page IconTo Previous Page
Loading...
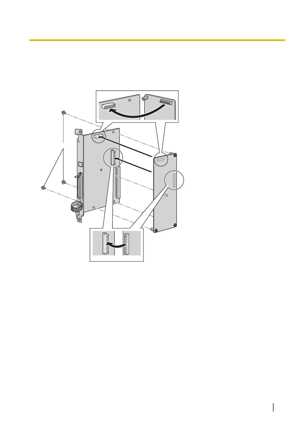
2.4.5 CLCOT8E Card (KX-TDA1186)
Function
8-port
analogue trunk daughter card with Caller ID. Caller ID signal type FSK/FSK (with Call Waiting Caller ID
[Visual Caller ID])/DTMF compatible. To be mounted on the CLCOT8 card.
inside
inside
Screw
Accessories and User-supplied Items
Accessories (included): Screws ´ 3
User-supplied (not included): none
Installation Manual 67
2.4.5 CLCOT8E Card (KX-TDA1186)

Table of Contents

Other manuals for Panasonic KX-TDA100D

Related product manuals