EasyManua.ls Logo

Panasonic SA-PT750PC - Disassembly of Drive Gear (A) & Drive Gear (B); Disassembly of Magnet Holder, Washer, Magnet; Clamper

Panasonic SA-PT750PC
155 pages
Print Icon
To Next Page IconTo Next Page
To Next Page IconTo Next Page
To Previous Page IconTo Previous Page
To Previous Page IconTo Previous Page
Loading...
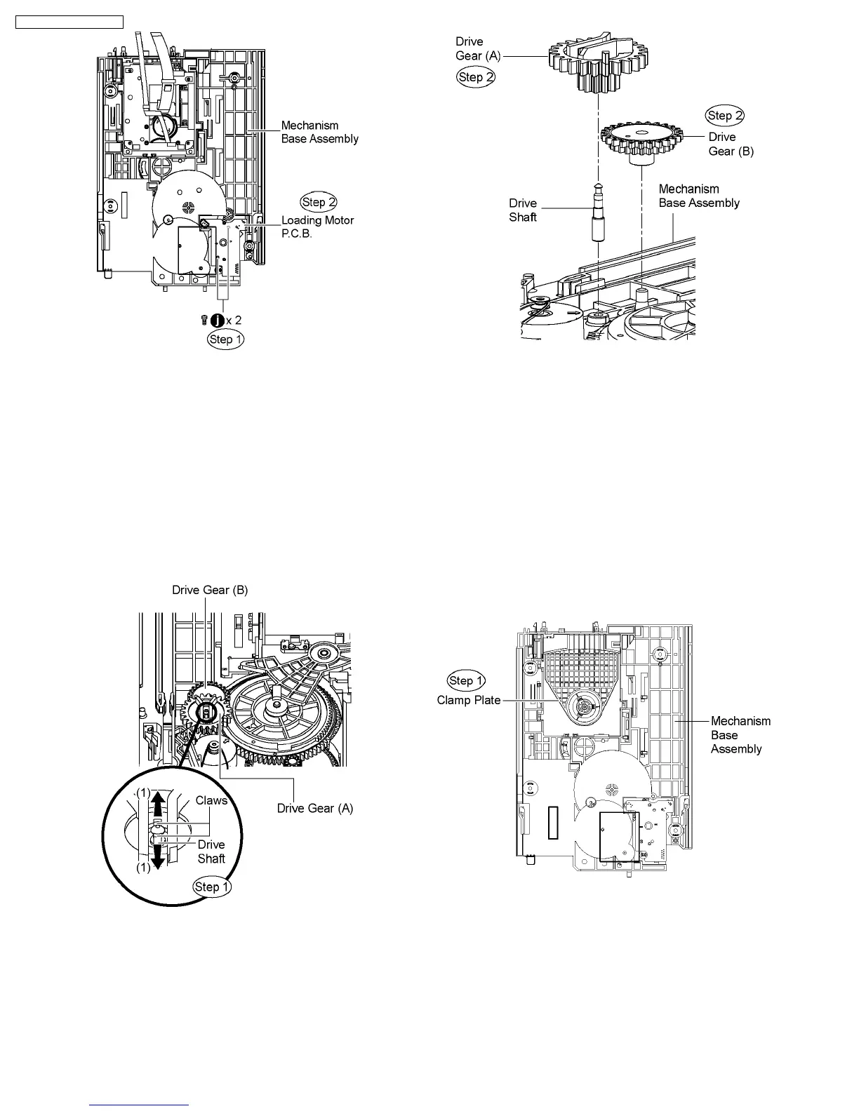
10.33. Disassembly of Drive Gear (A)
& Drive Gear (B)
·
Follow (Step 1) to (Step 3) of Item 10.3.
·
Follow (Step 1) to (Step 3) of Item 10.4.
·
Follow (Step 1) to (Step 4) of Item 10.5.
·
Follow (Step 1) to (Step 4) of Item 10.7.
·
Follow (Step 1) to (Step 4) of Item 10.8.
Step 1 Release the claws in the direction of arrow (1), and then
pull up the drive shaft.
Step 2 Remove the drive gear (A) and drive gear (B) from the
mechanism base assembly .
10.34. Disassembly of Magnet
Holder, Washer, Magnet &
Clamper
·
Follow (Step 1) to (Step 3) of Item 10.3.
·
Follow (Step 1) to (Step 3) of Item 10.4.
·
Follow (Step 1) to (Step 4) of Item 10.5.
·
Follow (Step 1) to (Step 4) of Item 10.7.
·
Follow (Step 1) to (Step 4) of Item 10.8.
·
Follow (Step 1) to (Step 3) of Item 10.30.
Step 1 Flip the mecha base to show the reverse side of the
clamp plate.
Step 2 Release 3 claws at the clamp plate in the direction of
arrow.
Step 3 Remove the magnet holder, washer, magnet & clamper.
70
SA-PT750P / SA-PT750PC

Table of Contents

Related product manuals