EasyManua.ls Logo

Panasonic SA-VK470EE - Measurement And Adjustments; Cassette Deck Section; Tape Speed Adjustment

Panasonic SA-VK470EE
154 pages
Print Icon
To Next Page IconTo Next Page
To Next Page IconTo Next Page
To Previous Page IconTo Previous Page
To Previous Page IconTo Previous Page
Loading...
14 Measurement And Adjustments
14.1. Cassette Deck Section
14.1.1. Requirements
Test tape (QZZCFM) (QZZCWAT)
Normal blank cassette tape (QZZCRA)
Digital frequency counter
Oscilloscope
Electrical voltmeter
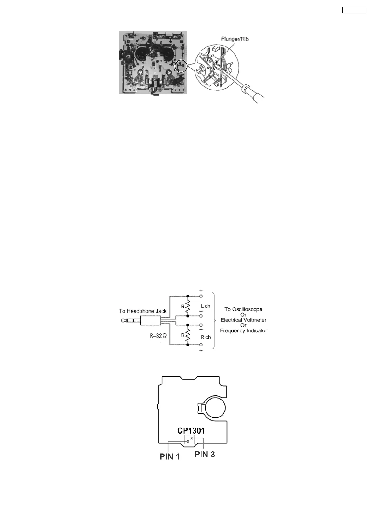
Headphone jack output jig (Fig 8)
14.1.2. Setting of Unit
VOLUME: MAX
14.1.3. Preparations
1. Apply under [9. Assembling and Disassembling].
2. Remove 4 screws from the mechanism unit to disassemble. under [9.13 Disassembly of Deck Mechanism Unit].
3. Connect the headphone jack output jig (Fig 8) to headphone jack.
Fig. 8
Fig. 9
14.1.4. Tape Speed Adjustment
Normal speed adjustment (only during forward playback)
77
SA-VK470EE

Table of Contents

Related product manuals