EasyManua.ls Logo

PianoDisc 228CFX - Step 29: Lyre Support Rods; Step 30: Set the Piano on Its Legs

Default Icon
84 pages
Print Icon
To Next Page IconTo Next Page
To Next Page IconTo Next Page
To Previous Page IconTo Previous Page
To Previous Page IconTo Previous Page
Loading...
54 PianoDisc Installation Guide
228CFX - PianoCD - iQ
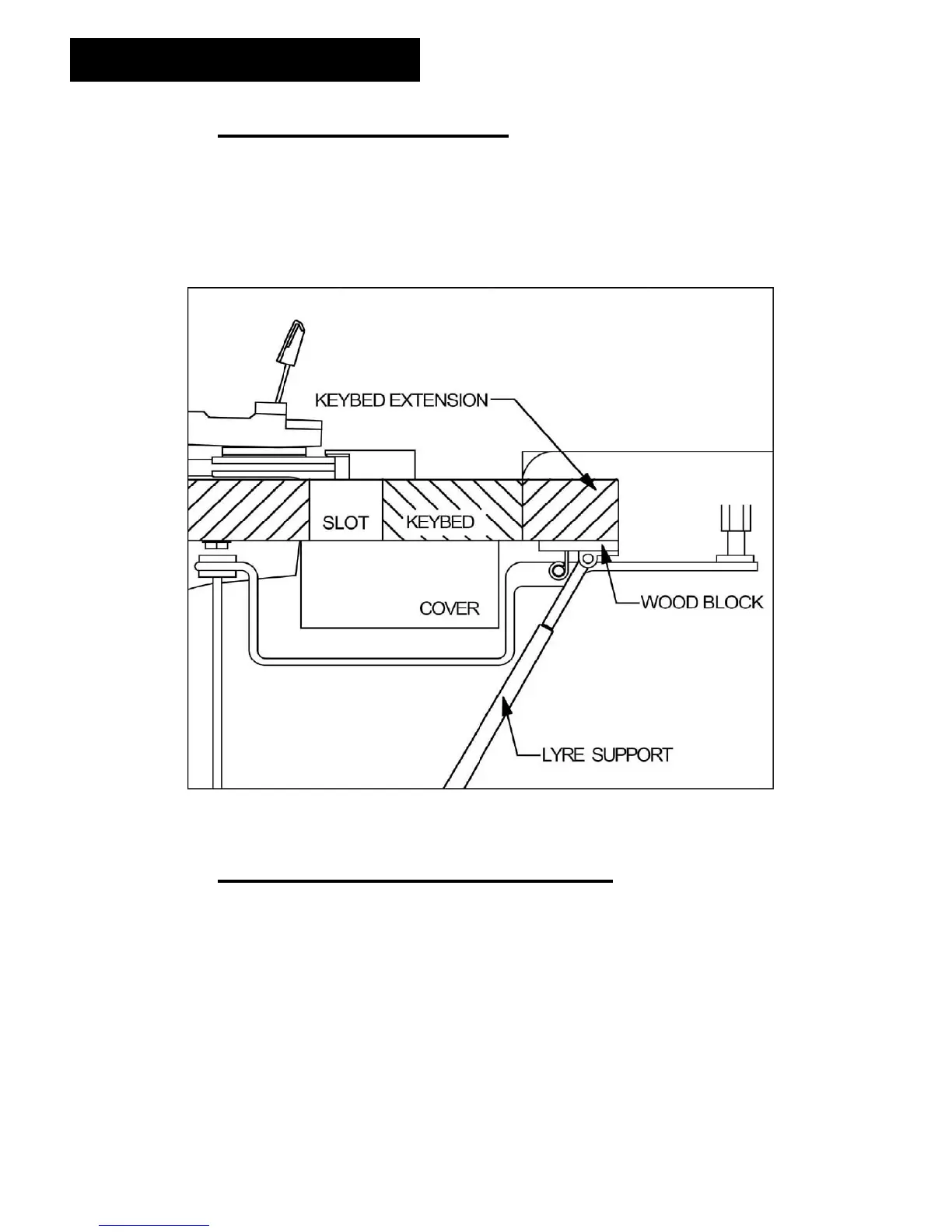
Step 29: Lyre support rods
If the lyre support rods do not clear the rail cover, select the correct thickness
of wood to elevate the rod enough to clear the rail cover. Three inch square
blocks of plywood, of proper thickness, will work well. Paint the blocks to
match the bottom of the piano and secure with wood glue and screws.
Discarded keybed material may also work.
Figure 37
Step 30: Set the piano on its legs
At this point, the piano legs should be reattached and the piano should be
moved to the horizontal (upright) position.

Table of Contents

Related product manuals