EasyManua.ls Logo

Renesas R8C series - Page 117

Renesas R8C series
341 pages
Print Icon
To Next Page IconTo Next Page
To Next Page IconTo Next Page
To Previous Page IconTo Previous Page
To Previous Page IconTo Previous Page
Loading...
R8C/1A Group, R8C/1B Group 12. Interrupts
Rev.1.30 Dec 08, 2006 Page 99 of 315
REJ09B0252-0130
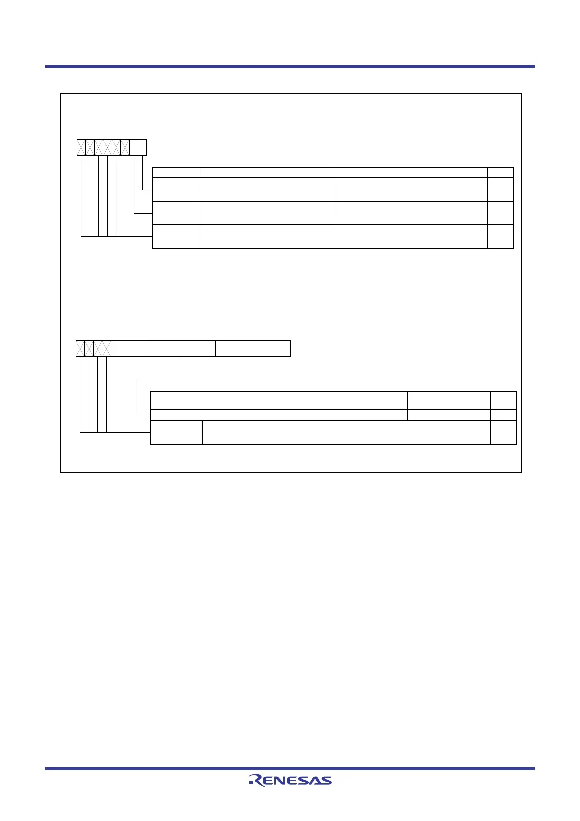
Figure 12.19 Registers AIER, and RMAD0 to RMAD1
ddress Match Interrupt Enable Registe
Symbol Address After Reset
AIER
0009h 00h
Bit Symbol Bit Name Function RW
AIER1
Address match interrupt 1 enable bit
AIER0
0 : Disable
1 : Enable
RW
b2 b1 b0
Address match interrupt 0 enable bit
(b7-b2)
Nothing is assigned. If necessary, set to 0.
When read, the content is 0.
b7 b6 b5 b4
0 : Disable
1 : Enable
RW
b3
Address Match Interrupt Register i(i = 0,1)
b0
Symbol Address After Reset
RMAD0
0012h-0010h X00000h
RMAD1
0016h-0014h X00000h
Setting Range RW
(b15)
b7
(b8)
b0 b7
00000h to FFFFFh
Function
RW
(b7-b4)
Nothing is assigned. If necessary, set to 0.
When read, the content is undefined.
Address setting register for address match interrupt
(b23)
b7
(b16)
b0
(b19)
b3

Table of Contents

Related product manuals