EasyManua.ls Logo

Ricoh SR3290 - Page 24

Ricoh SR3290
108 pages
Print Icon
To Next Page IconTo Next Page
To Next Page IconTo Next Page
To Previous Page IconTo Previous Page
To Previous Page IconTo Previous Page
Loading...
1.Detailed Descriptions
18
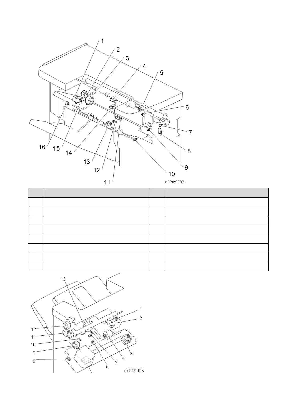
No.
Part
No.
Part
1
Shift Motor (STM3)
9
LED 3 (LED3)
2
Upper Junction Gate Solenoid (SOL1)
10
LED 2 (LED2)
3
Lower Junction Gate Motor (STM2)
11
Horizontal Transport Sensor (S13)
4
Proof Tray Full Sensor (S21)
12
Switchback Transport Sensor (S14)
5
Entrance Sensor (S17)
13
Transport Path Paper Sensor (S15)
6
LED 1 (LED1)
14
Proof Tray Exit Sensor (S20)
7
LED 4 (LED4)
15
Lower Junction Gate JP Sensor (S18)
8
Front Door Switch (SW1)
16
Shift Roller HP Sensor (S19)

Table of Contents

Related product manuals