EasyManua.ls Logo

Rigaku MFM65 - Page 19

Default Icon
138 pages
Print Icon
To Next Page IconTo Next Page
To Next Page IconTo Next Page
To Previous Page IconTo Previous Page
To Previous Page IconTo Previous Page
Loading...
14
ME12058B
Maintenance Section
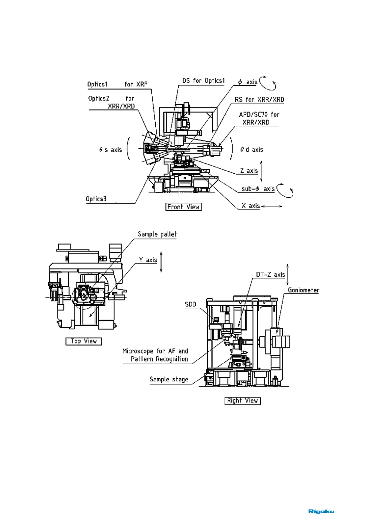
[Goniometer Figure]
Fig. 3-1-2 Gonimeter

Table of Contents