EasyManua.ls Logo

Rowe NiteHAWK - Figure 3-4 - Diagram 3

Rowe NiteHAWK
94 pages
Print Icon
To Next Page IconTo Next Page
To Next Page IconTo Next Page
To Previous Page IconTo Previous Page
To Previous Page IconTo Previous Page
Loading...
NiteHAWK Internet Jukebox Sound System Setup
22022602 3-13
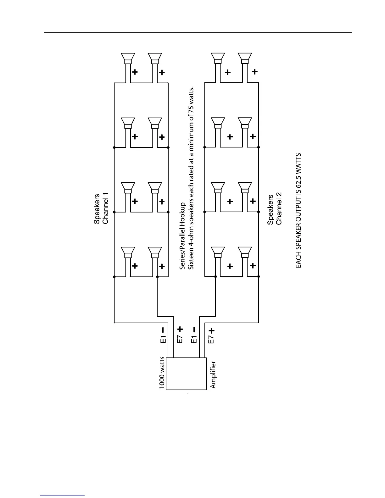
Figure 3-4 - Diagram 3

Table of Contents

Related product manuals