EasyManua.ls Logo

SICK CLV621 - 6.2 Electrical Connections

SICK CLV621
106 pages
Print Icon
To Next Page IconTo Next Page
To Next Page IconTo Next Page
To Previous Page IconTo Previous Page
To Previous Page IconTo Previous Page
Loading...
Chapter 6 Operating Instructions
CLV62x Bar Code Scanner
44 © SICK AG · Division Auto Ident · Germany · All rights reserved 8011965/S345/2008-04-16
Electrical installation
6.3 Electrical connections and cables
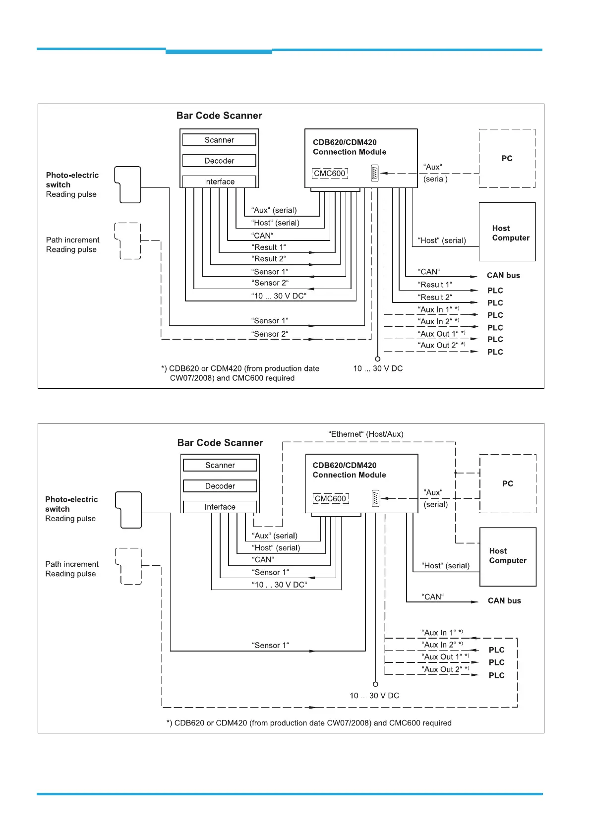
Fig. 6-1: Standard version: Electrical connections at the bar code scanner with connection cable
Fig. 6-2: Ethernet version: Electrical connections at the bar code scanner with connector unit

Table of Contents

Related product manuals