EasyManua.ls Logo

Siemens SIPROTEC 7SS523 V3.2 - Page 100

Siemens SIPROTEC 7SS523 V3.2
430 pages
To Next Page IconTo Next Page
To Next Page IconTo Next Page
To Previous Page IconTo Previous Page
To Previous Page IconTo Previous Page
Loading...
Configuration
84
7SS52 V4 Manual
C53000-G1176-C182-1
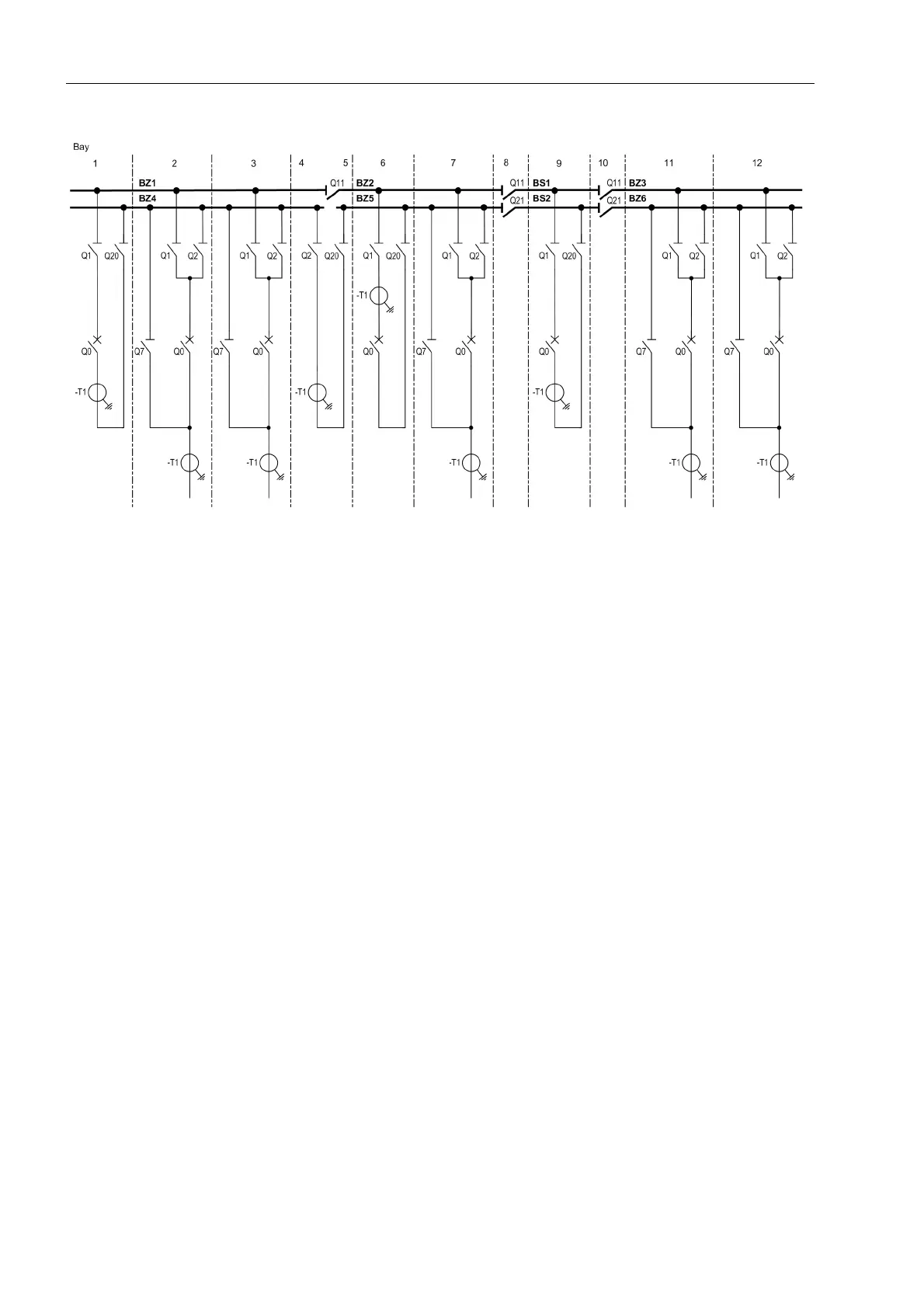
Figure 4-32 Double busbar with combi-bus

Table of Contents

Related product manuals