EasyManua.ls Logo

Siemens SIPROTEC 7SS523 V3.2 - Page 354

Siemens SIPROTEC 7SS523 V3.2
430 pages
To Next Page IconTo Next Page
To Next Page IconTo Next Page
To Previous Page IconTo Previous Page
To Previous Page IconTo Previous Page
Loading...
Appendix
338
7SS52 V4 Manual
C53000-G1176-C182-1
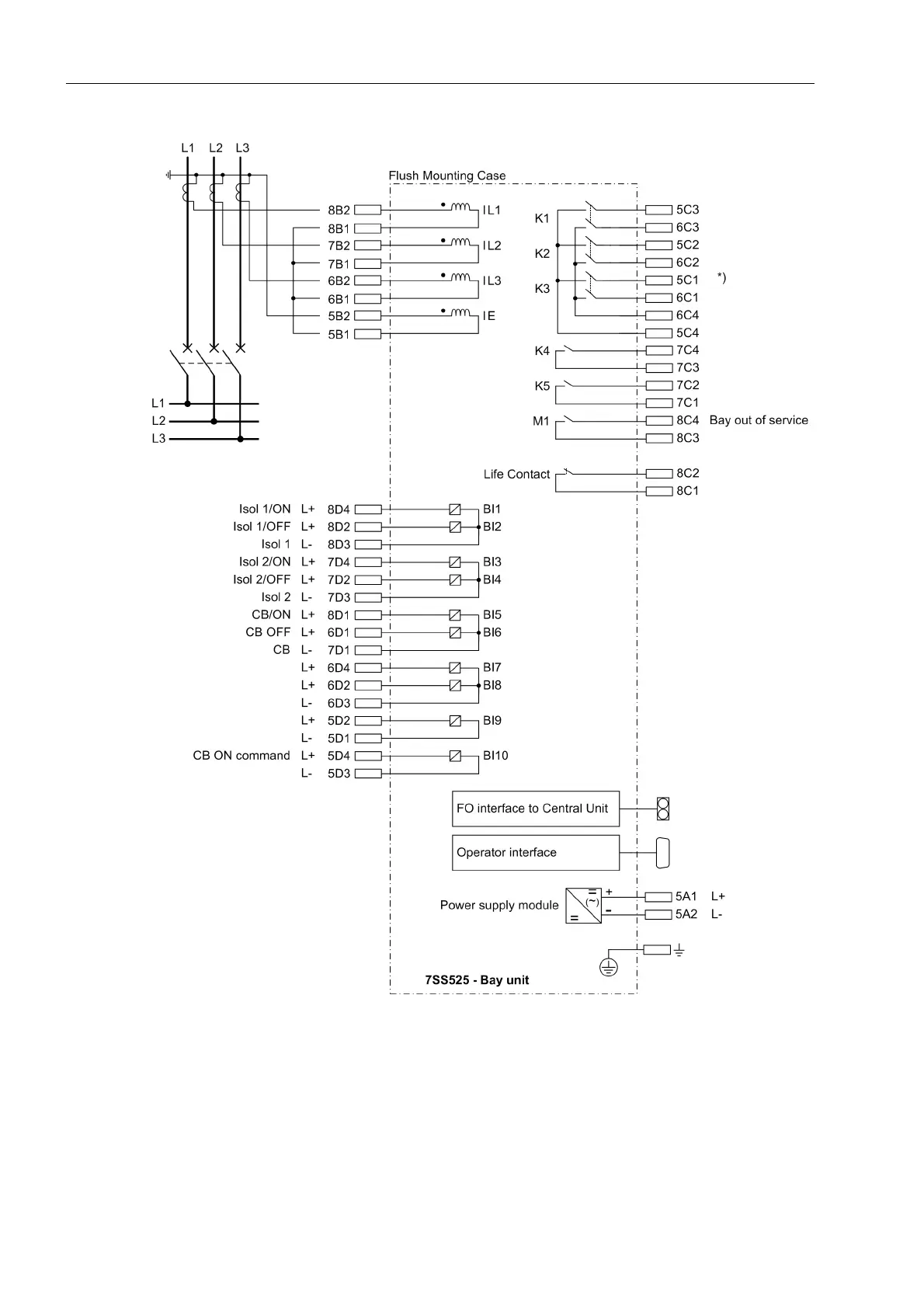
Figure A-6 Connection diagram bay unit 7SS525
*) Table A-32 “Marshalling TRIP
RELAY” show the default assign-
ment of relay K1 - K5.
Legend:
BI: Binary Input
K: Trip relay
CB: Circuit breaker
M: Alarm reley

Table of Contents

Related product manuals