EasyManua.ls Logo

SMC Networks PF2M7 Series - Hysteresis and Delay Time for OUT2

Default Icon
80 pages
Print Icon
To Next Page IconTo Next Page
To Next Page IconTo Next Page
To Previous Page IconTo Previous Page
To Previous Page IconTo Previous Page
Loading...
-36-
No.PF※※-OMW0007-A
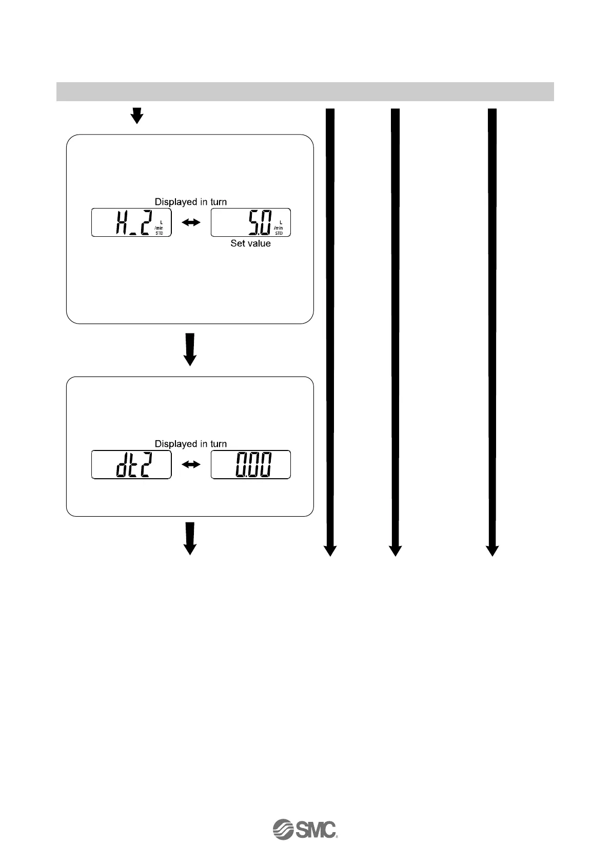
Hysteresis mode: [H_1]
Window comparator mode: [ H1]
The snap shot function can be used.
(Refer to page 55)
Delay time set range: 0.00 to 60.00 [s]
Hysteresis setting
Set the pressure referring to the setting
method on page 24.
Move on to delay time
setting.
Press the SET button
to set.
Delay time setting
Press the UP or DOWN button to select
the delay time.
Move on to display
colour setting.
Press the SET button
to set.

Other manuals for SMC Networks PF2M7 Series

Related product manuals